User manual
Manuals
Brands
3M Manuals
Other
VCR 10500
21
22
23
24
25
26
27
28
29
30
22
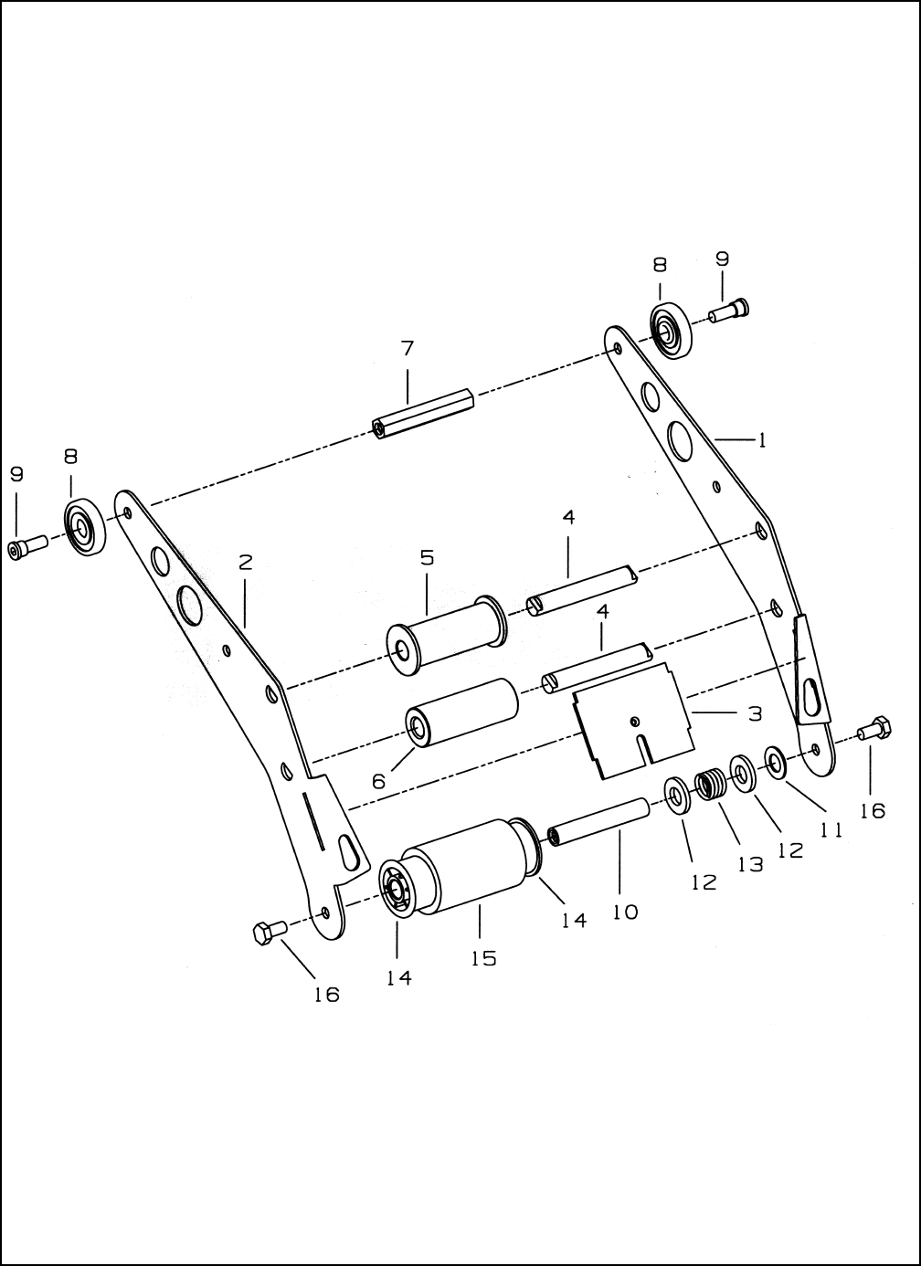
Figure 10393 – Upper and Lower Heads
1
...
...
25
26
27
28
29
...
...
40