User Manual

5
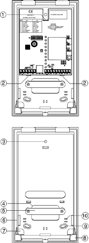
4.2 Gehäuseinnenseite
1. Obere Platinenhalterung
2. Untere Platinenhalterungen
3. Oberes Befestigungsloch
4. Öffnung für Kabeleinführung
5. Kunststoffschiene zur
Zugentlastung
6. Seitliche Kabeleinführungen
7. Eckseitige Kabeleinführung
8. Akkuhalterung
9. Untere Befestigungslöcher
10. Zugentlastungs-
vorrichtungen