Data Acquisition Modules User's Manual
Manuals
Brands
Advantech Manuals
Network Card
Data Acquisition Modules ADAM 4000
331
332
333
334
335
336
337
338
339
340
Appendix A
Appendix A Technical Specificatio
n A
-
7
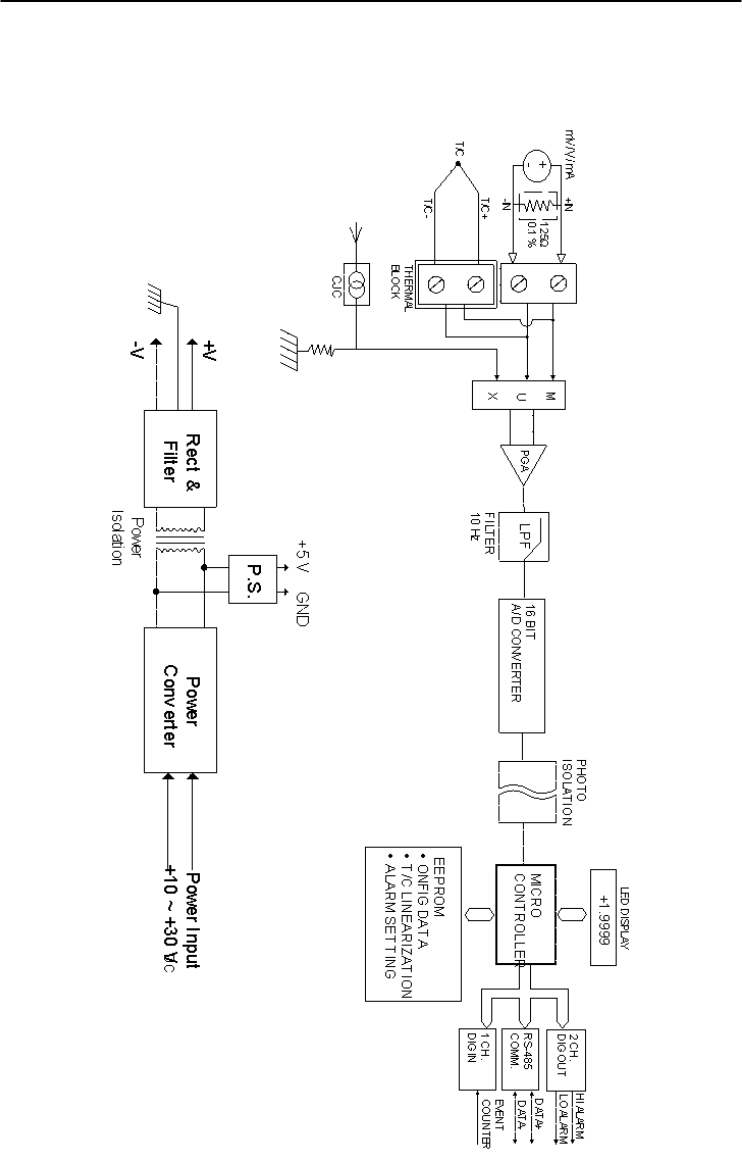
Figure A-2
ADAM-4011D Fun
ction Diagram
1
...
...
333
334
335
336
337
...
...
429