Data Acquisition Modules User's Manual
Manuals
Brands
Advantech Manuals
Network Card
Data Acquisition Modules ADAM 4000
341
342
343
344
345
346
347
348
349
350
Appendix A
Appendix A Technical Specificatio
n A
-
13
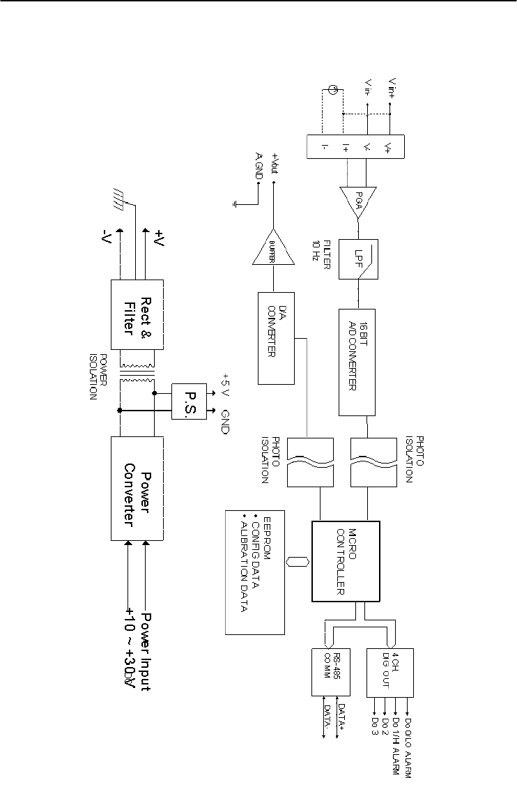
Figure A-5
ADAM-4016 Function Diagram
1
...
...
339
340
341
342
343
...
...
429