Data Acquisition Modules User's Manual
Manuals
Brands
Advantech Manuals
Network Card
Data Acquisition Modules ADAM 4000
341
342
343
344
345
346
347
348
349
350
Technical Specificati
ons
A-
18
ADAM 4000 Series User’s Manual
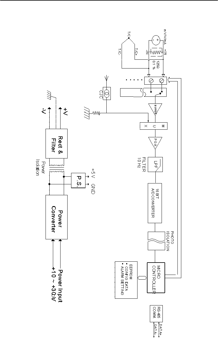
Figure A-7
ADAM-4018/4018+ F
unct
ion Diag
ram
1
...
...
344
345
346
347
348
...
...
429