Data Acquisition Modules User's Manual
Manuals
Brands
Advantech Manuals
Network Card
Data Acquisition Modules ADAM 4000
341
342
343
344
345
346
347
348
349
350
Appendix A
Appendix A Technical Specificatio
n A
-
21
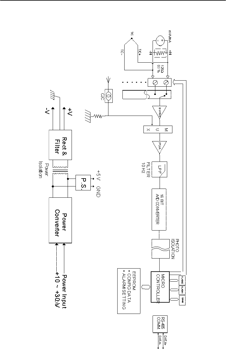
Figure A-8
ADAM-4018M Function D
iagram
1
...
...
347
348
349
350
351
...
...
429