Data Acquisition Modules User's Manual
Manuals
Brands
Advantech Manuals
Network Card
Data Acquisition Modules ADAM 4000
351
352
353
354
355
356
357
358
359
360
Appendix A
Appendix A Technical Specificatio
n A
-
23
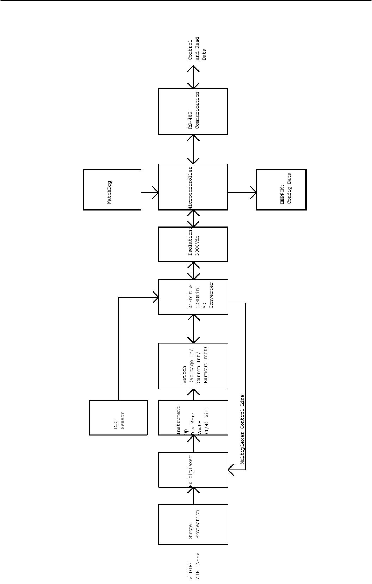
Figure A-9
ADAM-4019+ Function Diagram
1
...
...
349
350
351
352
353
...
...
429