Data Acquisition Modules User's Manual
Manuals
Brands
Advantech Manuals
Network Card
Data Acquisition Modules ADAM 4000
351
352
353
354
355
356
357
358
359
360
Appendix A
Appendix A Technical Specificatio
n A
-
27
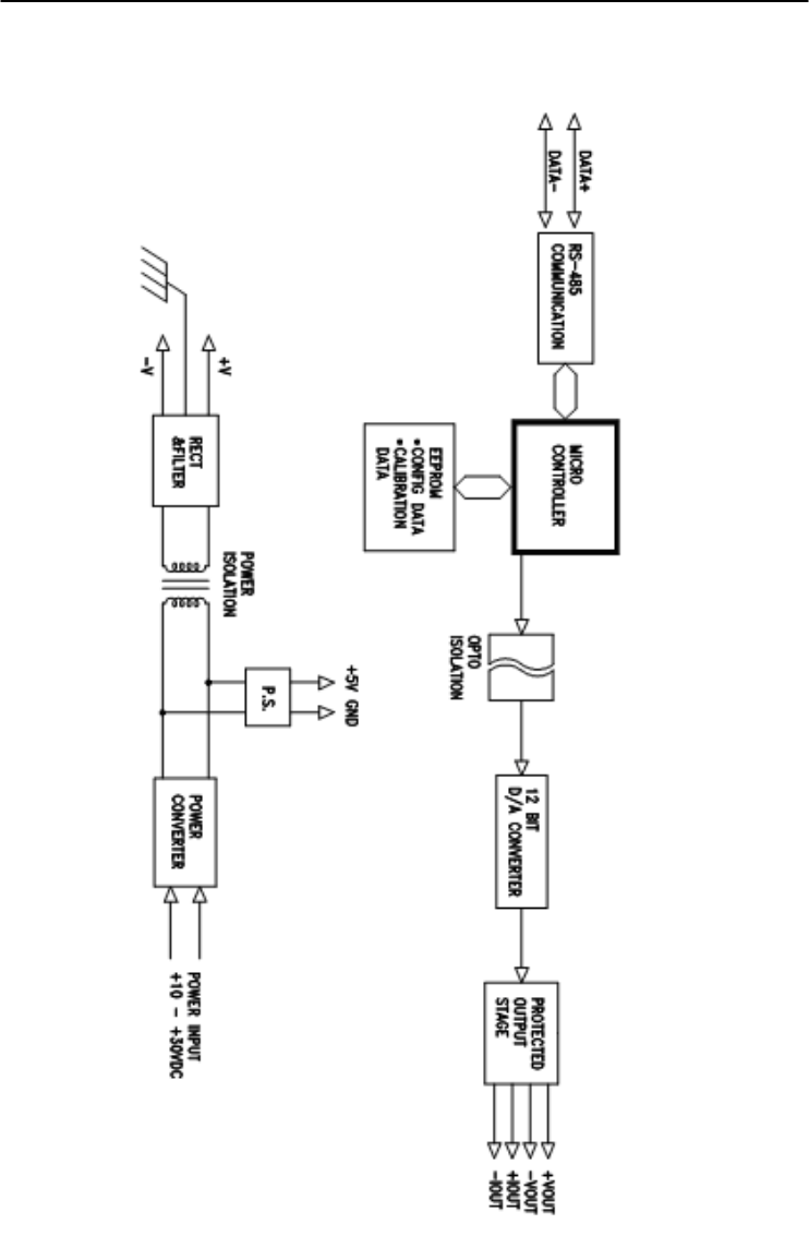
Figure A-11
ADAM-4024 Function Diagram
1
...
...
353
354
355
356
357
...
...
429