Data Acquisition Modules User's Manual

Chapter 3
Chapter 3 I/O Modules
3-9
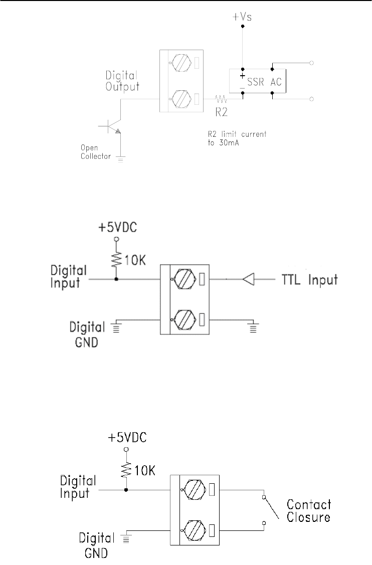
Figure 3-6 ADAM-4011/4011D Digital Output Wiring Diagram
Used with SSR (HI-LO alarm)
Figure 3-7 ADAM-4011/4011D Digital Input Wiring Diagram
Used with TTL
Figure 3-8 ADAM-4011/4011D Digital Input Wiring Diagram
Used with Dry contact