Data Acquisition Modules User's Manual
Manuals
Brands
Advantech Manuals
Network Card
Data Acquisition Modules ADAM 4000
371
372
373
374
375
376
377
378
379
380
Technical Specificati
ons
A-
46
ADAM 4000 Series User’s Manual
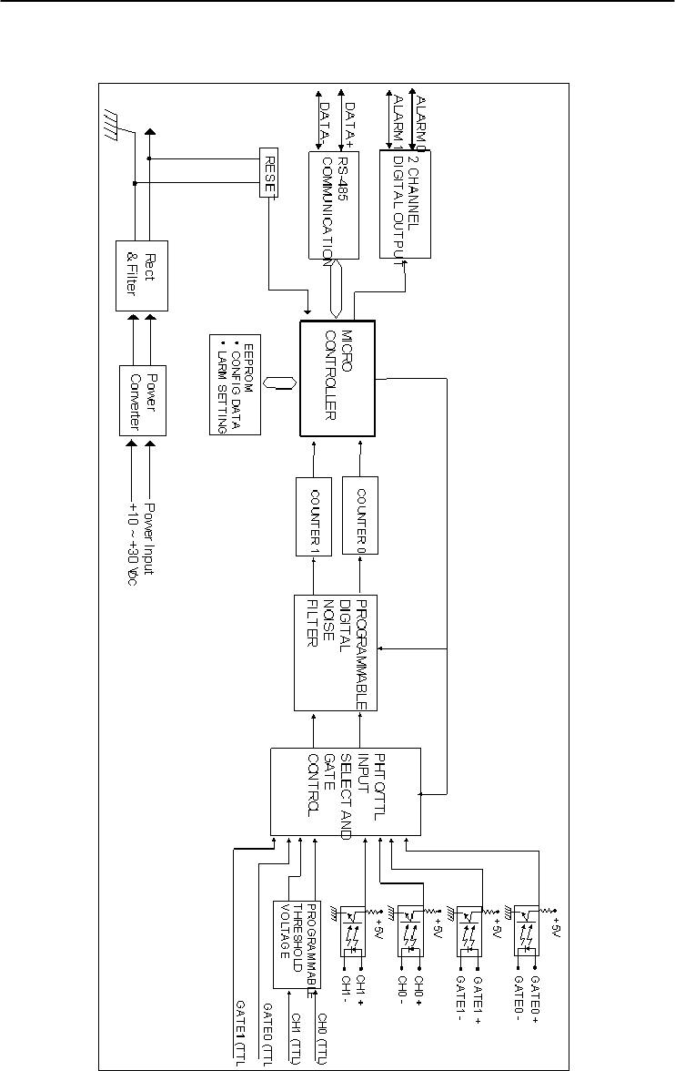
Figure A-20
ADAM-4080 Function Diagram
1
...
...
372
373
374
375
376
...
...
429