Data Acquisition Modules User's Manual
Manuals
Brands
Advantech Manuals
Network Card
Data Acquisition Modules ADAM 4000
371
372
373
374
375
376
377
378
379
380
Technical Specificati
ons
A-
48
ADAM 4000 Series User’s Manual
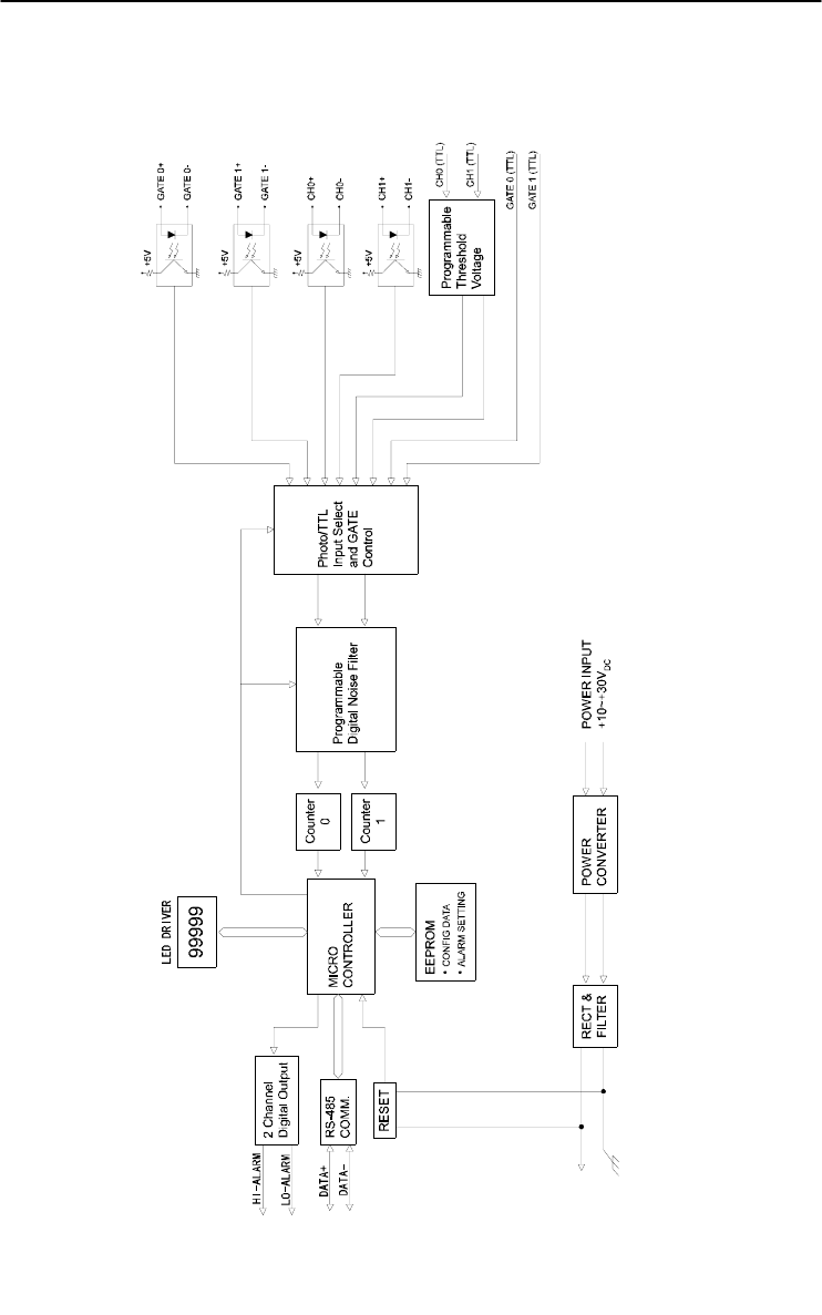
Figure A-21
ADAM-4080D Fu
ncti
on Diagram
1
...
...
374
375
376
377
378
...
...
429