Data Acquisition Modules User's Manual

I/O Modules
3-
36
ADAM 4000 Series User’s Manual
Vin5-
Vin5+
1
Vin6+
mV/V
-
+
AGND
Vin7+
Figure 3-31(b) ADAM-4017 Single-ended Input Wiring Diagram (Ch6 and Ch7)
11
Vin 0+
Vin 0-
Vin 1+
Vin 1-
mV/V
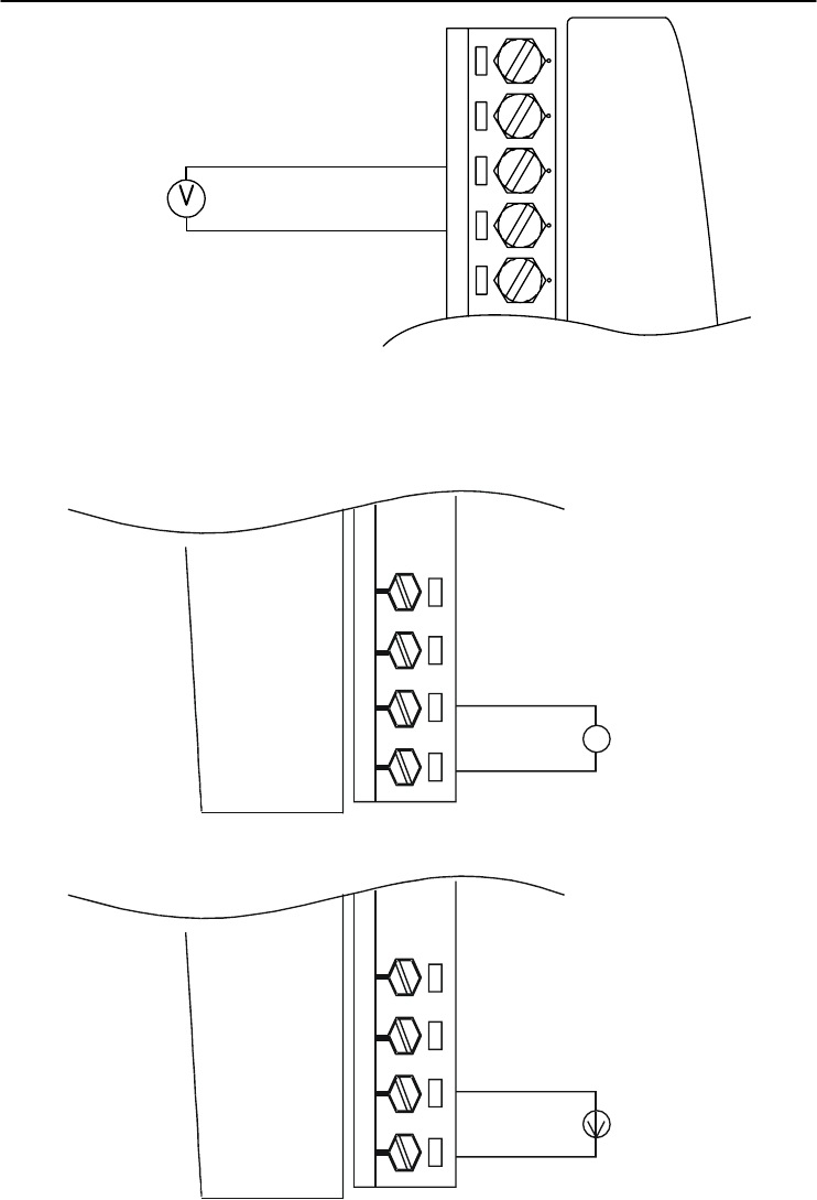
V
+
-
11
Vin 0+
Vin 0-
Vin 1+
Vin 1-
±
4~20 mA
+
-
Built-in 125 Ohm Resister
Figure 3-32 ADAM-4017+ Voltage and Current Input Wiring Diagram










