Instruction Manual

LED Indoor Luminaires Model # RWNS300424L30D2XX
Wall Sconce Surface Mount # RWNS180414L30D2XX
120-277VAC / 60Hz
Page 1 of 1 8061179 R0
Safety Precautions
Read all safety precautions and installation instructions carefully before installing or servicing this fixture. Failure to comply with these instructions could result in
potentially fatal electric shock and/or property damage.
It is recommended that a qualified electrician perform all wiring. This fixture must be wired in accordance with all national and local electrical codes.
Do not handle any energized fixture or attempt to energize any fixture with wet hands or while standing on a wet or damp surface or in water.
This fixture is designed for use in a 120-277VAC, 60Hz fused circuit. This fixture is compatible with 0-10V dimmers.
To reduce the risk of electrical shock, and to assure proper operation, this fixture must be adequately grounded. To accomplish proper grounding, there must be a
separate ground wire (green) contact between this fixture and the ground connection of your main power supply panel.
This fixture is intended to be used for general indoor lighting in dry and damp locations.
Disclaimer
Changes or modifications not expressly approved by the party responsible for compliance could void the user’s authority to operate the equipment. NOTE: This
equipment has been tested and found to comply with the limits for a Class B digital device, pursuant to Part 15 of the FCC Rules and Canadian ICES-005 (B) / NMB-005
(B). These limits are designed to provide reasonable protection against harmful interference in a residential installation. This equipment generates uses and can radiate
radio frequency energy and, if not installed and used in accordance with the instructions, may cause harmful interference to radio communications. However, there is no
guarantee that interference will not occur in a particular installation. If this equipment does cause harmful interference to radio or television reception, which can be
determined by turning the equipment off and on, the user is encouraged to try to correct the interference by one or more of the following measures:
• Reorient or relocate the receiver antenna.
• Increase the separation between the equipment and receiver.
• Connect the equipment into an outlet on a circuit different from that to which the receiver is connected.
• Consult with the dealer or an experienced radio/TV technician for help.
Any modifications to this fixture may void the warranty and interfere with the safe operation of the luminaire.
Operation is subject to the following two conditions: (1) this device may not cause interference, and (2) this device must accept any interference, including interference
that may cause undesired operation of the device.
Assembly Instructions
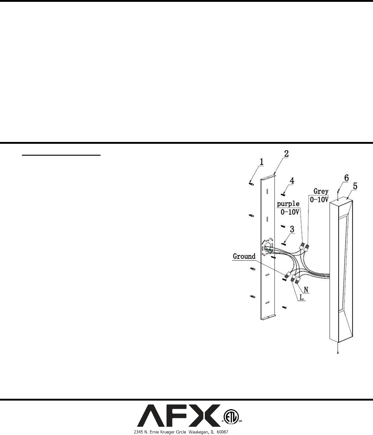
1. Preparing for installation.
A. Disconnect electrical power before installing or servicing any part of this fixture.
B. Remove fixture from carton; remove components from parts bag.
C. Remove mounting plate (2) from fixture.
D. Install mounting plate (2) over the junction box (not included) with two #8-32 screws (3). For
additional support, use wood screws (4) to secure to wood stud. If wood stud is not directly
behind the bracket, then drill Ø0.25 hole through the drywall to install plastic anchors (1) for use
with wood screws.
2. Wiring.
All wiring must take place inside junction box.
Caution: Make sure power is off at fuse or circuit breaker box. Check power wires for
damage or scrapes. If power supply wires are within three inches of driver, use wire
suitable for at least 90C (194F)。Note: Most dwellings built before 1985 have supply wire
rated to 60C. Consult a qualified electrician before installing. This unit will not operate
properly unless connected to a “grounded” electrical circuit. Electrical shock, over-heating, low or no
light output, and shortened LED life can result if proper grounding is not done.
A. Make all wire connections to appropriate wire. Secure with wire nuts (supplied).
B. Connect green wire from the fixture to the power source green (Ground) wire.
C. For none-dimming fixture. Fixture will operate normally w/o connection to any dimmers.
Connect white fixture lead to white (N) wire from supply power source. Connect black fixture
lead to black (L) wire from supply power source. Gray and purple wires are not used and must
be individually capped to prevent shorting.
D. For (0-10V) dimming fixture. Connect gray wire from the fixture to the dimmer source gray
wire. Connect purple wire from the fixture to the dimmer source purple wire. Connect white
fixture lead to white (N) wire from supply power source. Connect black fixture lead to black (L)
wire from dimmer supply power source.
E. Do not mix wires. Pull on each wire lead to make sure connections are secure. Make certain
no bare wires are exposed outside of wire connectors. Tuck all connections neatly into the
junction box.
3. Fixture mounting.
A. Install fixture (5) over mounting plate (2) by aligning top and bottom mounting holes to the plate,
then secure with two screws (6).
4. Restore power at fuse or circuit breaker box.
Limited Factory Warranty
AFX Inc. hereby warranty that this fixture is free from defects in materials and workmanship when installed and used under normal operating conditions for a period of 5 years
from date of purchase. This warranty covers all component parts and extends only to replacement of defective fixture or components; it does not cover failure due to improper
installation, misuse, mishandling or damage incurred in transit.

