Specifications

Table Of Contents
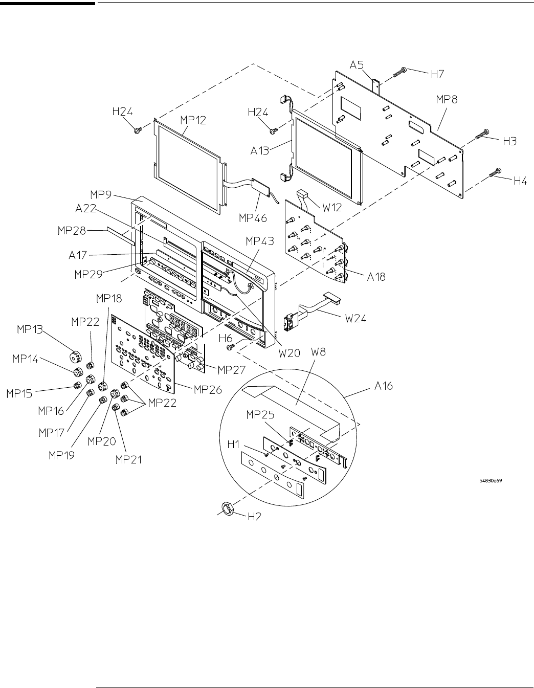
Chapter 7: Replaceable Parts
Exploded Views
140
Exploded Views
Front Frame and Front Panel