Specifications

Table Of Contents
Chapter 7: Replaceable Parts
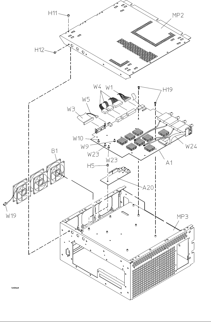
Exploded Views
141
Fan and Acquisition Assembly