User`s guide
Manuals
Brands
Agilent Technologies Manuals
Portable Generator
E4438C
11
12
13
14
15
16
17
18
19
20
12
User’
s and Ser
vice G
uide Sup
plement
E4438C O
ption H
EC
Repeatable T
riggering f
or Multiple Baseband Sources
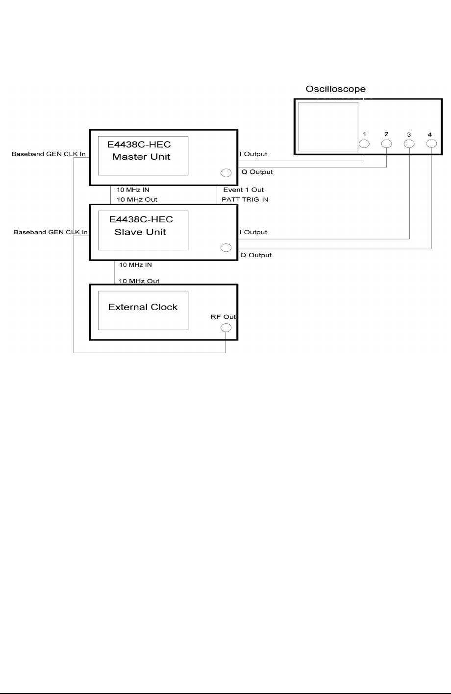
F
igure 7
Connection Diagram for
Multiple Sources
1
...
...
18
19
20
21
22
...
...
34