User Guide
Manuals
Brands
Akai Manuals
Other
GX-77
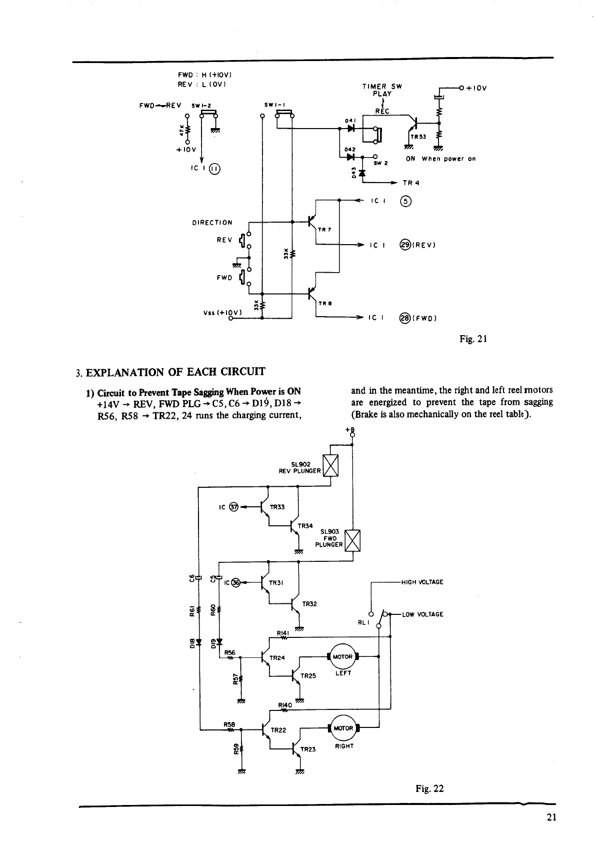
21
22
23
24
25
26
27
28
29
30
1
...
...
19
20
21
22
23
...
...
66