User manual
Table Of Contents

Functional description
akYtec GmbH · Vahrenwalder Str. 269 A · 30179 Hannover· Germany · Tel.: +49 (0) 511 16 59 672-0 · www.akytec.de
5
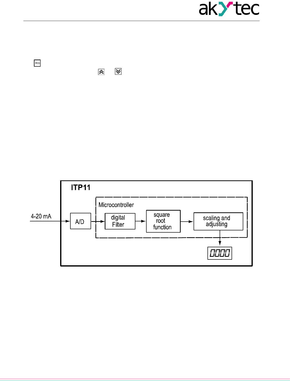
4 Functional description
A 4-digit, 7-segment LED display with 14 mm character height is located on the front of the device for dis-
playing the measured values, error messages, functions and values during programming. The programming
buttons are positioned on the cylindrical surface of the device.
The button is used to set the programming mode and to apply the changes. The parameters can be se-
lected and changed using buttons and . Pressing and holding the buttons increases the speed of pa-
rameter changing in three steps.
The operating modes are described in Section 5.
The device has the following functions:
- Display process values, received from process control devices with 4-20 mA output (current loop).
- The measured values are displayed on the 4-digit LED display with a maximum range of -999…+9999 in
accordance with the set limit values and the decimal point position.
- When exceeding the measuring limit, the device displays an error message.
- Switching between linear and square root function (for special transmitters)
- Filter for damping the signal fluctuations with an adjustable time constant
- Password protection against unauthorised access
Fig. 1 Block diagram










