User guide
Table Of Contents
- installation guide
- Electrical Safety and Installation Requirements fo...
- STANDARDS: This product meets the following standa...
- RADIATED ENERGY
- Note: This equipment has been tested and found to ...
- Note: Modifications or changes not expressly appro...
- This Class A digital apparatus meets all requireme...
- Cet appareil numérique de la classe A respecte tou...
- RFI Emission EN55022 Class A
- Immunity EN50082-1
- WICHTIG: Für den Betrieb dieses Gerätes ist die Ei...
- VIGTIGT: Dette udstyr skal bruges i overensstemmel...
- BELANGRIJK: Dit apparaat moet in overeenstemming m...
- IMPORTANT : Cet équipement doit être utilisé confo...
- TÄRKEÄÄ: Tätä laitetta on käytettävä turvaohjeiden...
- IMPORTANTE: questa apparecchiatura deve essere uti...
- VIKTIG: Dette utstyret skal brukes i samsvar med s...
- IMPORTANTE: Este equipamento tem que ser operado s...
- IMPORTANTE: La operación de este equipo debe lleva...
- OBS! Alla nödvändiga försiktighetsåtgärder måste v...
- Electrical Safety and Installation Requirements fo...
- STANDARDS: This product meets the following standa...
- Manufacturers Name: Allied Teleysn International, ...
- Manufacturers Telephone: 408-730-0950 Declares tha...
- Complies with FCC Part 15B, Class B Limits:
- This device complies with part 15 of the FCC Rules...
- This equipment has been tested and found to comply...
- - Reorient or relocate the receiving antenna.
- - Increase the separation between the equipment an...
- - Connect the equipment into an outlet on a circui...
- - Consult the dealer or an experienced radio/TV te...
- Changes and modifications not expressly approved b...
- This Class B digital apparatus meets all requireme...
- Cet appareil numérique de la classe B respecte tou...
- RFI Emission EN55022 Class B
- Immunity EN50082-1
- WICHTIG: Für den Betrieb dieses Gerätes ist die Ei...
- VIGTIGT: Dette udstyr skal bruges i overensstemmel...
- BELANGRIJK: Dit apparaat moet in overeenstemming m...
- IMPORTANT : Cet équipement doit être utilisé confo...
- TÄRKEÄÄ: Tätä laitetta on käytettävä turvaohjeiden...
- IMPORTANTE: questa apparecchiatura deve essere uti...
- VIKTIG: Dette utstyret skal brukes i samsvar med s...
- IMPORTANTE: Este equipamento tem que ser operado s...
- IMPORTANTE: La operación de este equipo debe lleva...
- OBS! Alla nödvändiga försiktighetsåtgärder måste v...
- Table of Contents
- Preface
- AT-3714F, AT-3726 Hardware Description
- Installing the Switch
- Verifying Switch Package Contents
- Safety Information
- Preparing the Site
- Rack Mounting the Unit
- Media Dependent Adapters
- Figure23 AT-3701 and AT-3701F/SC MDA Front Pan...
- Verifying Package Contents
- Media Dependent Adapter Features
- Table23 Media Dependent Adapter Features
- Installing a Media Dependent Adapter
- 1. Disconnect the switch’s power cord.
- 2. Unscrew the three Phillips head screws on the b...
- 3. The standoff on the MDA serves as a guide to sl...
- 4. Slide the MDA into its empty slot making sure t...
- 5. Attach the female 50-pin female connector to it...
- Figure24 Guiding the MDA (AT-3701) Standoff in...
- Figure25 Connecting the 50-Pin Female Connecto...
- MDA LEDs
- Installing a Media Dependent Adapter
- Table24 Media Dependent Adapter LEDs
- Troubleshooting
- Switch Configurations
- AppendixA
- AppendixB

AT-3714F and AT-3726 Installation Guide
2-5
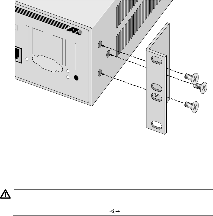
3. Attach the rack-mounting brackets to each side of the switch, using
the 6 flathead screws provided.
Figure 2-2 Attaching Rack-Mounting Brackets
4. Mount the unit in the rack.
5. Apply power to the unit as follows:
Caution
Power cord is used as a disconnection device. To de-energise equip-
ment disconnect the power cord. A-10
Attach the power cord to the unit and plug it in the wall outlet.
Verify that the PWR LED lights green. See Table 2-1, LEDs
O
R PORT
RS-232
TERMINAL PORT
STATUS
RESET
K
FAULT
POWER