User Manual
Table Of Contents

12
Connecting the Monitor
Cable Connections In Back of Monitor and Computer:
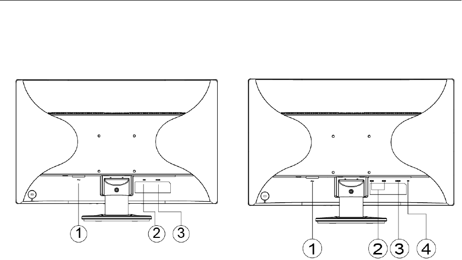
E2495S
D E2495SH
E2495SD
1. Power
2. DVI (Optional)
3. Analog (DB-15 VGA cable)
E2495SH
1. Power
2. HDMI (Optional)
3. Analog (DB-15 VGA cable)
4. Line in (Optional)
To protect equipment, always turn off the PC and LCD monitor before connecting.
1 Connect the power cable to the AC port on the back of the monitor.
2 Connect one end of the 15-pin D-Sub cable to the back of the monitor and connect the other end to the
computer's D-Sub port.
3. (Optional –Requires a video card with DVI port)Connect one end of the DVI cable to the back of the monitor
and connect the other end to the computer‟s DVI port.
4. (Optional – Requires a video card with HDMI port) - Connect one end of the HDMI cable to the back of the
monitor and connect the other end to the computer’s HDMI port.
5. (Optional)Connect the audio cable to audio in port on the back of the monitor
6 Turn on your monitor and computer.
If your monitor displays an image, installation is complete. If it does not display an image, please refer
Troubleshooting.










