User Guide

Table Of Contents
PowerBook G4 (12-inch) Troubleshooting -
15
Symptom Charts
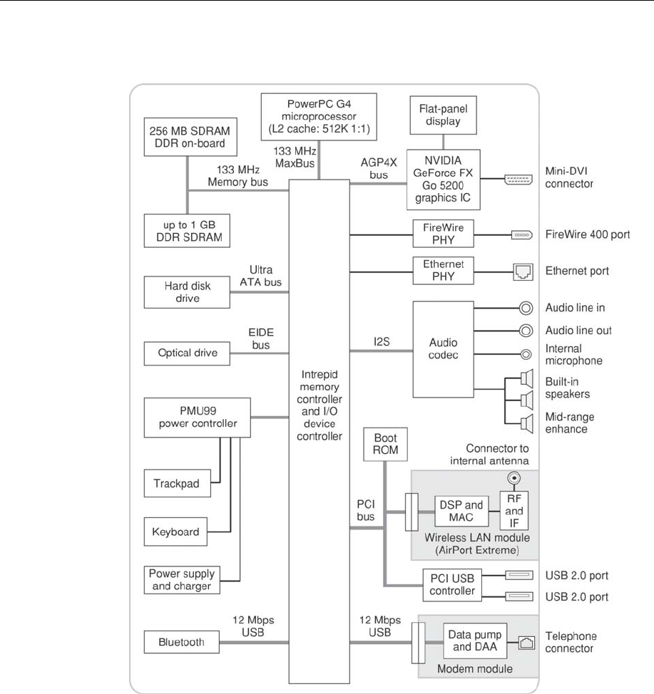
Block Diagram: PowerBook G4 (12-inch DVI)