Installation guide
Manuals
Brands
B-Tech Manuals
Projector Mounts
BT890B
7
8
9
10
11
12
13
14
15
16
13
8
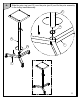
Tilt and height adjustm
ent.
+/-
20°
7
14
2
2
3
1
...
...
11
12
13
14
15
...
16