User Manual
Table Of Contents
- About your Bose® A20® Aviation Headset
- Components
- Preparing the Headset for Use11
- The battery compartment
- Connecting the headset to the aircraft
- Wearing and adjusting the headset
- Using the control module
- Primary and secondary audio sources
- AUX audio sources (wired)
- Bluetooth® audio sources (wireless)
- Using the headset with a Bluetooth® device
- Pairing the first device
- Pairing another device
- Switching between connected devices
- Bluetooth multi-function button
- Making and answering calls
- Reconnecting to a previously connected device
- Recovering a lost connection
- Disconnecting a Bluetooth device
- Clearing the headset pairing list
- Controlling Bluetooth volume
- Using the headset with a Bluetooth® device
- Secondary audio modes
- Cleaning the headset
- Instructions for continued airworthiness
- Managing multiple secondary sources
- Ordering parts and accessories
- Contact information
- Limited warranty
- Locating the headset serial number
- Mounting the aircraft panel connector
- Replacing parts
- Microphone windscreen

Technical Information
English - 37
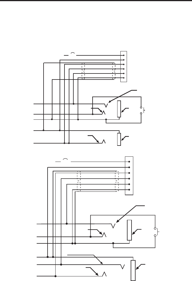
Caution: Do not use excessive force or bend the installed connector. This may
damage or break internal solder joints.
Note: The aircraft panel connector cannot be installed in an audio system using
transformer-coupled audio outputs. Contact Bose Technical Support, using
the contact information on page 39 for details.
Mono connection diagram
10-32
V DC
1/2A
1V+IN
2 GND
3 COMM L
4 COMM R
5 MIC HI
6 MIC LO
RED
BLK
WHT
BLU
WHT
WHT/BLU
BLK/WH
BLK/WH
Ring
(audio)
Existing PTT
switch
and wiring
(no connection to
Bose headset)
Microphone - Jack
TPP
(PTT)
Barrel
(gnd)
Headphone - Jack
Barrel
(audio gnd)
Tip
(phone audio)
Existing wiring to
aircraft intercom/
audio panel
Stereo connection diagram
Existing wiring to
aircraft stereo
intercom/audio panel
10-32
V DC
1/2A
1V+IN
2 GND
3 COMM L
4 COMM R
5 MIC HI
6 MIC LO
RED
BLK
WHT
BLU
WHT
WHT/BLU
BLK/WH
BLK/WH
Audio
Existing
PTT switch
and wiring
(no connection to
Bose headset)
Microphone - Jack
TPP
(PTT)
Barrel
(gnd)
Stereo Headphone - Jack
Barrel
(audio gnd)
Tip
(phone audio left)
Phone
audio (right)