Manual

ДВИГАТЕЛЬ <4G6 > - Прокладка головки цилиндров
11A-24
ОСНОВНЫЕ ОПЕРАЦИИ ПО СНЯТИЮ
СНЯТИЕ НАСОСА ГИДРОУСИЛИТЕЛЯ РУЛЕВОГО
УПРАВЛЕНИЯ В СБОРЕ С КРОНШТЕЙНОМ
Снимите насос гидроусилителя рулевого управления в сборе с
кронштейном вместе с подсоединенными к нему шлангами.
ПРИМЕЧАНИЕ.
Снятый насос гидроусилителя рулевого управления в сборе с
кронштейном и шлангами привяжите проволокой и разместите в таком
месте, где он не будет помехой при снятии и установке головки цилиндров
в сборе.
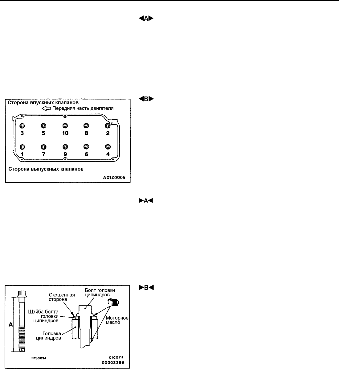
ОТВОРАЧИВАНИЕ БОЛТОВ ГОЛОВКИ ЦИЛИНДРОВ
Отворачивайте болты в 2 или 3 этапа в последовательности, указанной на
рисунке, а затем снимите головку цилиндров в сборе.
Внимание
При отворачивании болтов крепления головки цилиндров будьте
осторожны, чтобы не повредить или деформировать направляющие
трубки свечей зажигания, так как они не поставляются отдельно.
ОСНОВНЫЕ ОПЕРАЦИИ ПО УСТАНОВКЕ
УСТАНОВКА ПРОКЛА ДКИ ГОЛОВКИ ЦИЛИНДРОВ
1. Обезжирьте прилегающие поверхности прокладки.
2. При установке проверьте совпадение всех отверстий на прокладке и
головке цилиндров.
УСТАНОВКА БОЛТОВ КРЕПЛЕНИЯ ГОЛОВКИ
ЦИЛИНДРОВ
1. Перед установкой болтов проверьте длину стержня болта (до
головки), которая должна быть в указанных пределах. При
превышении предельно допустимого значения болт подлежит замене.
Предельно допус тимое значение (А): 99,4 мм
2. Шайбу болта следует устанавливать таким образом, чтобы
поверхность шайбы с фаской находилась сверху.
3. Перед установкой необходимо смазать небольшим количеством
моторного масла верхнюю поверхность шайбы и резьбу болта.