Manual

КРЕПЛЕНИЕ СИЛОВОГО АГРЕГАТА -
Опоры двигателя, центральная
(продольная) балка
32-6
ОПОРЫ ДВИГАТ ЕЛЯ, ЦЕНТРАЛЬНАЯ (ПРОДОЛЬНАЯ) БАЛКА
СНЯТИЕ И УСТАНОВКА
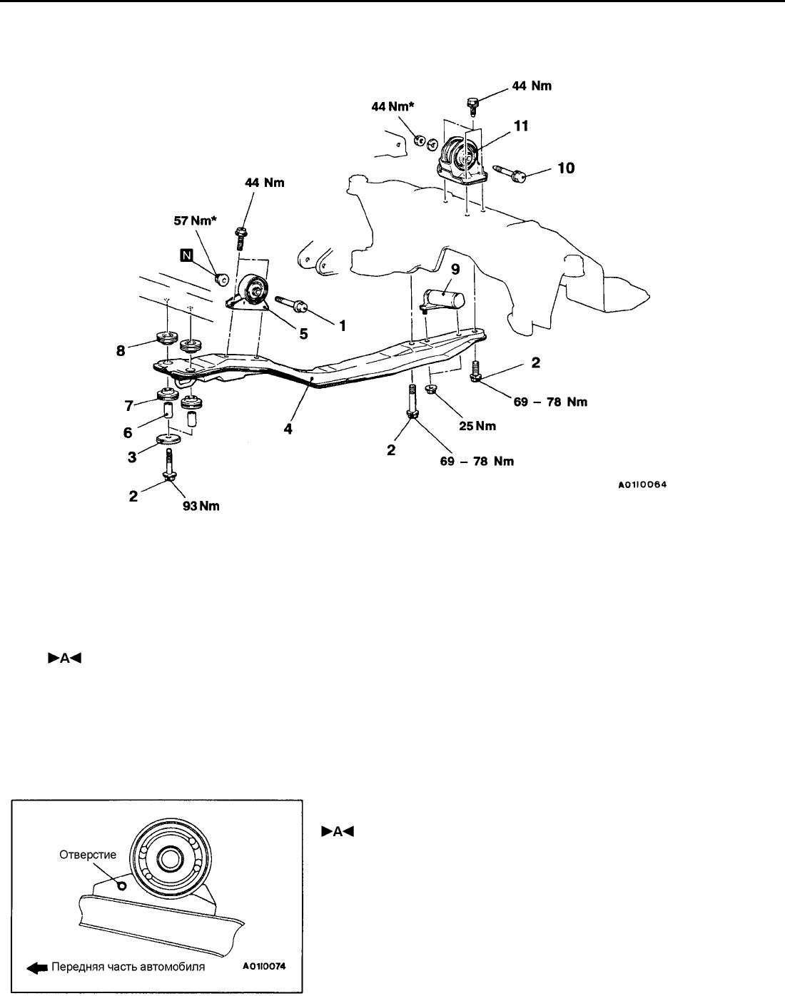
Последовательнос ть снятия передней
опоры двигателя, центральной
(продольной) балки
Последовательность снятия опоры
двигателя
10. Соединительный болт КПП и задней
опоры двигателя
11. Задняя опора двигателя
1. Соединительный болт КПП и передней
опоры двигателя
2. Болты крепления центральной балки
3. Ограничитель
4. Центральная (продольная) балка
5. Передняя опора двигателя
6. Втулка
7. Втулка (нижняя)
8. Втулка (верхняя)
9. Динамический демпфер <4G6, 4D6>
Внимание:
Элементы крепления, отмеченные знаком *, след ует
сначала зат януть предварительно, а окончательную
затяжку произвести после полного опускания
двигателя на опоры.
ОСНОВНЫЕ ОПЕРАЦИИ ПО УСТАНОВКЕ
УСТАНОВКА ПЕРЕДНЕЙ ОПОРЫ ДВИГАТЕЛЯ
Установите переднюю опору таким образом, чтобы отверстие на передней
части опоры двигателя смотрело в сторону передней части автомобиля.