Manual

КУЗОВ – Люк
42-63
ЛЮК
СНЯТИЕ И УСТАНОВКА
Заключительные операции
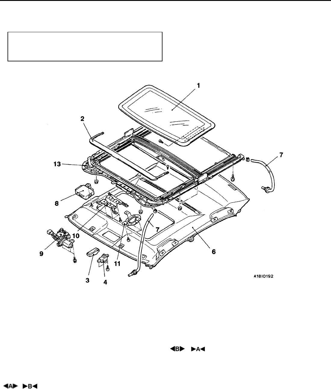
<Стекло крышки люка в сборе, люк в сборе>
(1) Проверка герметичности (См. стр. 42-62).
(2) Регулировка установки люка (См. стр. 42-62).
<Седан>
1. Стекло крышки люка в сборе
2. Панель дефлектора люка
Последовательнос ть снятия выключате-
ля электропривода люка
3. Крышка выключателя электропривода
люка
4. Выключатель электропривода люка
Последовательнос ть снятия дренажного
шланга
• Брызгозащитный щиток (Передний дре-
нажный шланг)
6. Облицовка потолка
7. Дренажный шланг
Последовательнос ть снятия электронно-
го блока управления люком
6. Облицовка потолка
8. Электронный блок управления люком
Последовательнос ть снятия электродви-
гателя привода люка крыши
6. Облицовка потолка
9. Электродвигатель привода люка крыши
Последовательнос ть снятия люка в сборе
6. Облицовка потолка
7. Соединение дренажного шланга
10. Кронштейн плафона освещения салона
11. Кронштейн выключателя электропривода
люка
13. Люк в сборе