Manual

ОБОРУДОВАНИЕ САЛОНА - Заднее сидение
52A-17
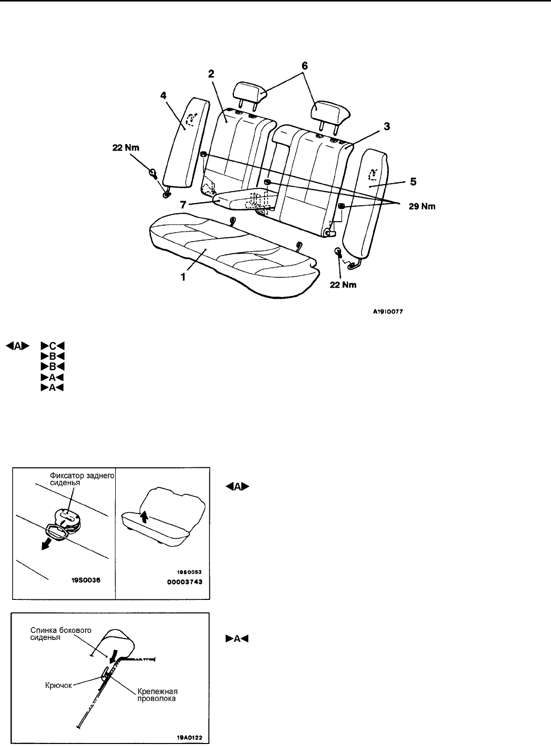
ЗАДНЕЕ СИДЕНИЕ
СНЯТИЕ И УСТАНОВКА
Последовательнос ть снятия деталей
1. Подушка сидения
2. Спинка сидения (правая)
3. Спинка сидения (левая)
4. Боковая опора спинки сидения (правая)
5. Боковая опора спинки сидения (левая)
6. Подголовник
7. Подлокотник
ОСНОВНЫЕ ОПЕРАЦИИ ПО СНЯТИЮ
СНЯТИЕ СПИНКИ СИДЕНИЯ
Удерживая фиксатор заднего сидения вытянутым, поднимите подушку
сидения, чтобы снять ее.
ОСНОВНЫЕ ОПЕРАЦИИ ПО УСТАНОВКЕ
УСТАНОВКА БОКОВОЙ ОПОРЫ СПИНКИ СИДЕНИЯ
(ЛЕВОЙ) И БОКОВОЙ ОПОРЫ СПИНКИ СИДЕНИЯ
(ПРАВОЙ)
Нажмите на боковую опору спинки сидения в направлении, показанном на
рисунке; затем надежно закрепите крепежную проволоку к крючку со
стороны кузова и установите боковую опору спинки сидения.