Manual

ОБОРУДОВАНИЕ САЛОНА - Заднее сидение
52A-18
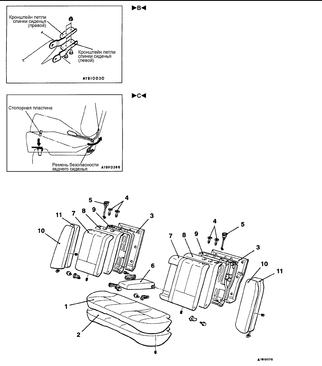
УСТАНОВКА СПИНКИ СИДЕНИЯ (ЛЕВОЙ) И СПИНКИ
СИДЕНИЯ (ПРАВОЙ)
Поместите кронштейн петли спинки сидения (правой) над кронштейном
петли спинки сидения (левой).
УСТАНОВКА ПОДУШКИ СИДЕНИЯ
1. Вытяните ремень безопасности заднего сидения на верх подушки
сидения.
2. Надежно вставьте крепежную проволоку подушки сидения позади
спинки сидения.
3. Надежно вставьте стопорные пластины подушки сидения в отверстия
кузова.
РАЗБОРКА И СБОРКА
8. Накладка спинки сидения*
9. Рама спинки сидения
10. Обивка боковой опоры спинки сидения
11. Накладка боковой опоры спинки сидения
Последовательнос ть снятия деталей
1. Обивка подушки сидения
2. Накладка подушки сидения*
3. Панель спинки сидения
4. Направляющая подголовника
5. Рычажок привода замка
6. Подлокотник
7. Обивка спинки сидения
ПРИМЕЧАНИЕ:
*: Автомобили с электроприводом передних сидений