Manual

ПЕРЕДНЯЯ ПОДВЕСКА - Амортизатор в сборе
33A-9
АМОРТИЗАТОР В СБОРЕ
СНЯТИЕ И УСТАНОВКА
Заключительные операции
Проверка и регулировка углов установки передних колес
(См. стр. 33А-4).
Последовательнос ть снятия
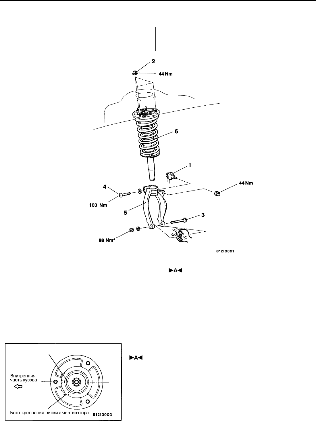
5. Вилка амортизатора
6. Амортизатор в сборе
1. Стабилизатор поперечной устойчивости
2. Гайки крепления амортизатора
3. Соединение вилки амортизатора и
нижнего поперечного рычага подвески
4. Соединение вилки амортизатора и
амортизатора
Внимание:
* Означает детали, которые необходимо предварительно
затянуть, а затем произвести окончательную зат яжку, опустив
незагруженный автомобиль на колеса на ровную
горизонтальную площадку.
ОСНОВНЫЕ ОПЕРАЦИИ ПО УСТАНОВКЕ
УСТАНОВКА ВИЛКИ АМОРТИЗАТОРА
Вилка амортизатора должна смотреть на позиционный выступ
амортизатора в сборе, как показано на рисунке.
Позиционный выступ амортизатора