Installation Instructions

INSTALLATION:
Rubber
washer
Cap
Nut
OUTDOOR LIGHTING
Tel: (613) 342-5424, Fax: (800) 263-4598
White
Black
House supply
Ground wire
Fixture
Ground wire
IOL303
09/16
SAFETY PRECAUTIONS:
TOOLS AND MATERIALS REQUIRED:
Phillips
Screwdriver
Wire Cutters
Pliers Wrench
!
INSTRUCTIONS PERTAINING TO RISK OF FIRE OR INJURY TO PERSONS
READ ALL INSTRUCTIONS
IMPORTANT SAFETY
INSTRUCTIONS
SAVE THESE INSTRUCTIONS
QUESTIONS OR CONCERNS CONTACT AT:
1-800-265-1833 (English) / 1-800-567-2513 (French)
Monday through Friday 8:00 AM to 5:00 PM E.S.T.
Wiring supplies
as required by
local electrical
code
1. TURN OFF ELECTRICAL POWER BEFORE STARTING INSTALLATION OF LIGHT FIXTURE.
2. THIS PRODUCT MUST BE INSTALLED IN ACCORDANCE WITH THE APPLICABLE INSTALLATION CODE
BY A PERSON FAMILIAR WITH THE CONSTRUCTION AND OPERATION OF THE PRODUCT AND THE
HAZARDS INVOLVED.
3.
CONNECT THE GROUND WIRE (BARE COPPER OR GREEN) FROM YOUR FIXTURE TO THE GROUND
WIRE (BARE COPPER OR GREEN) OF SUPPLY WIRE.
4. TO CLEAN THE FIXTURE, TURN OFF THE POWER, WAIT FOR IT TO COOL, AND WIPE THE FIXTURE WITH A
CLEAN, SOFT CLOTH.
NOTE: Product may not look exactly as shown in figures.
Bulb
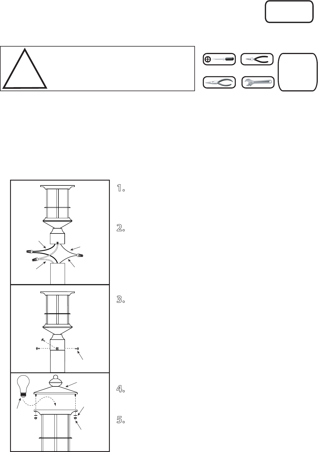
1.
Set fixture over the post and mark the location of the three
mounting holes on the post. Drill the three holes in the post
using a drill bit.
2.
Connect the ground wire from the fixture to the supply
ground. Attach the black wire from the fixture to the black wire of
the supply wire, then white wire to white wire using marrets.
3.
Tuck the wires into the post. Align the holes on the fixture with
the holes in the post and secure with three mounting screws.
4.
Install proper bulb type and wattage (not included).
5.
Position the top over the fixture and secure with the rubber
washers and cap nuts.
Mounting
Screws
Top cover