Specifications
Manuals
Brands
Casio Manuals
Gadgets
SF-4300B
21
22
23
24
25
26
27
28
29
30
Table Of Contents
匀䘀ⴀ㔀㔀㤀 匀夀⼀㔀㜀㤀 匀夀⼀㔀㤀㤀 匀夀ഀ匀䘀ⴀ㔀㔀㤀 匀夀 倀䰀唀匀⼀㔀㜀㤀 匀夀 倀䰀唀匀⼀ഀ㔀㔀㤀 匀夀 倀䰀唀匀 ⠀娀堀ⴀ㐀㔀㔀⤀
䌀伀一吀䔀一吀匀
⸀ 匀倀䔀䌀䤀䘀䤀䌀䄀吀䤀伀一匀
㈀⸀ 䜀䔀一䔀刀䄀䰀 䜀唀䤀䐀䔀
㌀⸀ 䐀䄀吀䄀 䌀伀䴀䴀唀一䤀䌀䄀吀䤀伀一匀
㌀ⴀ⸀ 䐀䄀吀䄀 吀刀䄀一匀䴀䤀匀匀䤀伀一 䘀刀伀䴀 䄀 唀一䤀吀 吀伀 䄀一伀吀䠀䔀刀 唀一䤀吀
㌀ⴀ㈀⸀ 䐀䄀吀䄀 吀刀䄀一匀䴀䤀匀匀䤀伀一 䈀䔀吀圀䔀䔀一 䄀 唀一䤀吀 䄀一䐀 倀䔀刀匀伀一䄀䰀 䌀伀䴀倀唀吀䔀刀ഀ唀匀䤀一䜀 䘀䄀ⴀ㈀㠀
㐀⸀ 伀倀䔀刀䄀吀䤀伀一 䌀䠀䔀䌀䬀
㔀⸀ 䔀刀刀伀刀 䴀䔀匀匀䄀䜀䔀匀
㘀⸀ 匀䌀䠀䔀䴀䄀吀䤀䌀 䐀䤀䄀䜀刀䄀䴀匀
㘀ⴀ⸀䴀䄀䤀一 倀䌀䈀 䄀匀匀✀夀
㘀ⴀ⸀ 䴀䄀䤀一 倀䌀䈀 䄀匀匀✀夀 ⠀䄀㌀㐀㈀ 㔀㐀⤀ⴀ⠀⼀㐀⤀ഀ䌀倀唀
㘀ⴀ⸀ 䴀䄀䤀一 倀䌀䈀 䄀匀匀✀夀 ⠀䄀㌀㐀㈀ 㔀㐀⤀ⴀ⠀㈀⼀㐀⤀
㘀ⴀ⸀ 䴀䄀䤀一 倀䌀䈀 䄀匀匀✀夀 ⠀䄀㌀㐀㈀ 㔀㐀⤀ⴀ⠀㌀⼀㐀⤀
㘀ⴀ⸀ 䴀䄀䤀一 倀䌀䈀 䄀匀匀✀夀 ⠀䄀㌀㐀㈀ 㔀㐀⤀ⴀ⠀㐀⼀㐀⤀
㘀ⴀ㈀⸀ 䬀䔀夀䈀伀䄀刀䐀 倀䌀䈀 䄀匀匀✀夀
㘀ⴀ㈀⸀ 䬀䔀夀䈀伀䄀刀䐀 倀䌀䈀 䄀匀匀✀夀 ⠀䄀㌀㐀㈀ 㔀㔀⤀ⴀ⠀⼀㌀⤀
㘀ⴀ㈀⸀ 䬀䔀夀䈀伀䄀刀䐀 倀䌀䈀 䄀匀匀✀夀 ⠀䄀㌀㐀㈀ 㔀㔀⤀ⴀ⠀㈀⼀㌀⤀
㘀ⴀ㈀⸀ 䬀䔀夀䈀伀䄀刀䐀 倀䌀䈀 䄀匀匀✀夀 ⠀䄀㌀㐀㈀ 㔀㔀⤀ⴀ⠀㌀⼀㌀⤀
㜀⸀ 䰀匀䤀 倀䤀一 䘀唀一䌀吀䤀伀一
㠀⸀ 䐀䤀匀䄀匀匀䔀䴀䈀䰀夀
㤀⸀ 倀䄀刀吀匀 䰀䤀匀吀
⸀ 䔀堀倀䰀伀䐀䔀䐀 嘀䤀䔀圀
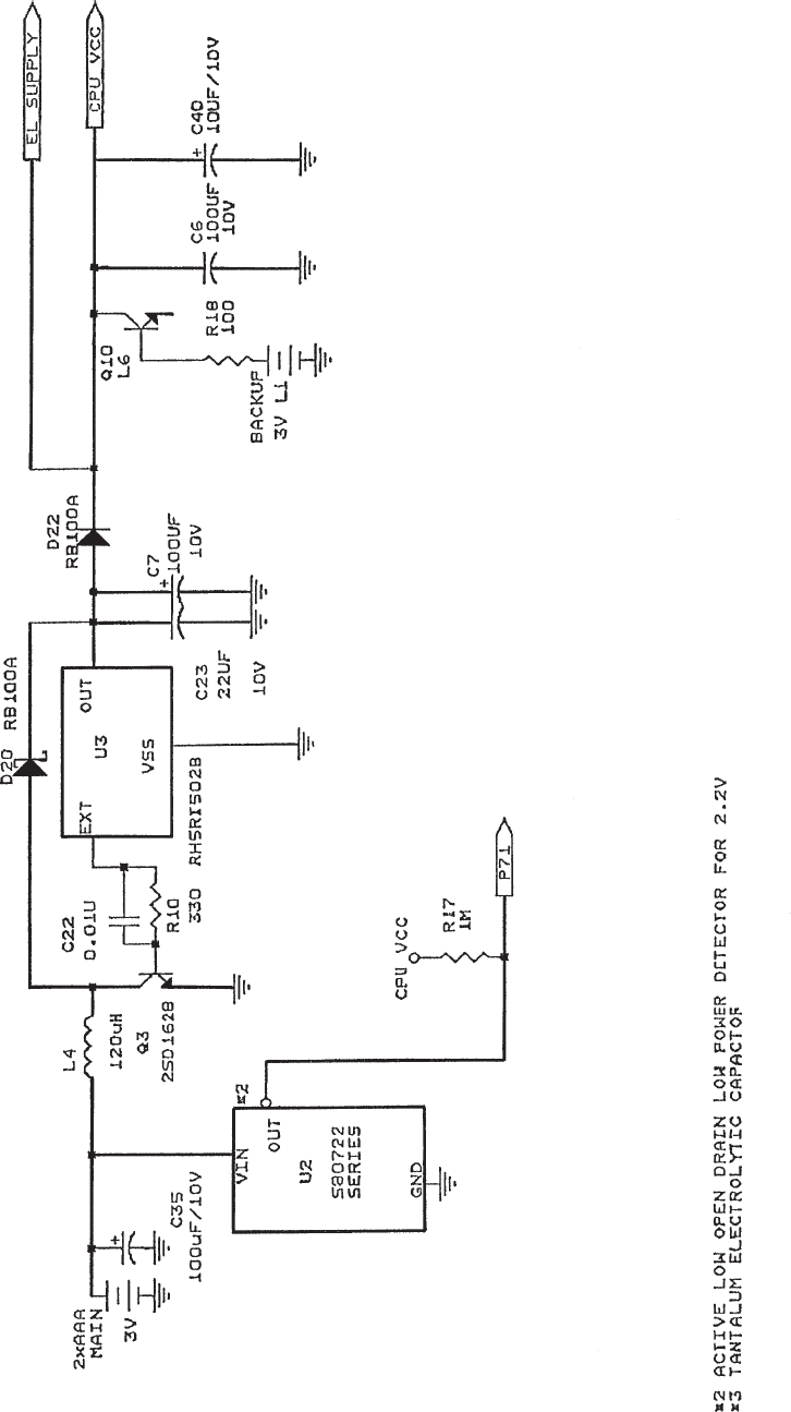
— 24 —
POWER SUPPLY
6-2. KEYBOARD PCB ASS’Y (A342055)-(2/3)
1
...
...
22
23
24
25
26
...
...
33