User manual - MULTI PJ CAMRA YC-430

MULTI PJ CAMERAのセットアップ
J-22
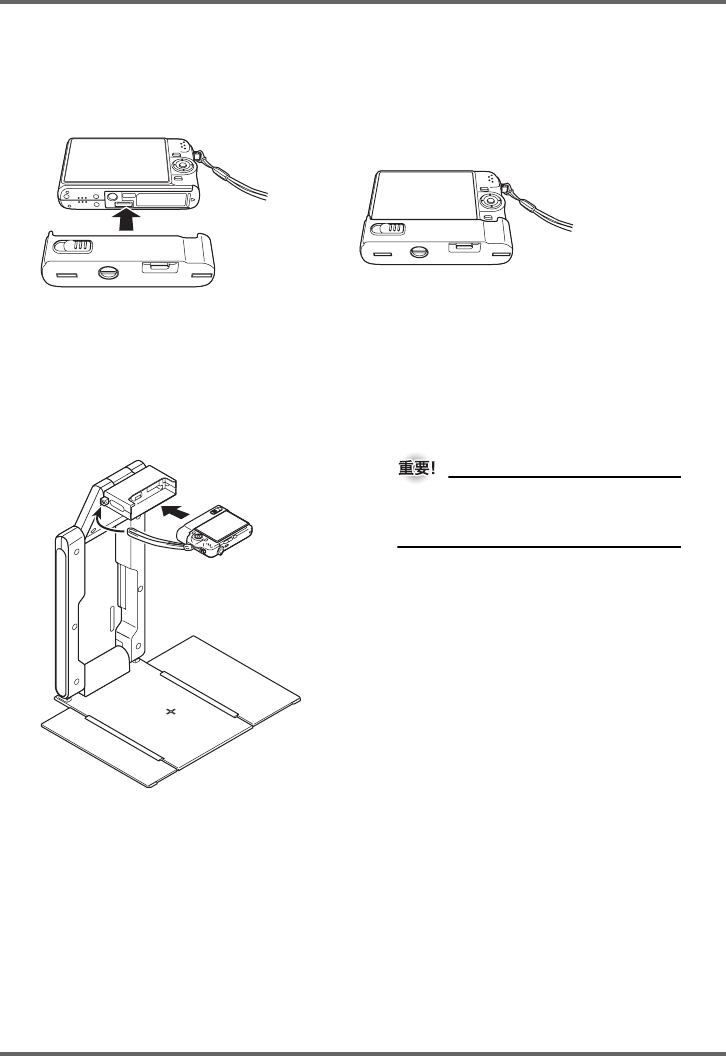
PJカメラスタンドにPJカメラを取り付けるには
以下の作業は、PJカメラの電源を切った状態で行ってください。
1. PJカメラの底面に、カメラアタッチメントを取り付けます。
z カメラアタッチメントのネジを硬貨などを使ってしっかりと締めてください。
2. PJカメラスタンドのカメラホルダーに、PJカメラを取り付けます。
z レンズ側が下になるように取り付けてください。
z カチッという音がするまでカメラホルダーに差し込んでください。
z PJカメラのストラップは、ストラップホルダーに差し込みます。
z カメラホルダーは確実に差し込ん
でください。カメラが落下して故障
の原因となります。










