User manual - MULTI PJ CAMRA YC-430

J-23
MULTI PJ CAMERAのセットアップ
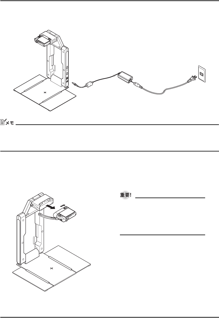
PJカメラスタンドにACアダプターを接続するには
MULTI PJ CAMERAの使用時は、必ず付属のACアダプターをPJカメラスタンドに接続します。
z PJカメラスタンドにACアダプターを接続すると、PJカメラの電源が入っていない状態では、PJカ
メラスタンドに取り付けられたPJカメラの充電が行われます。このとき、[CHARGE]インジケー
ターが点灯します。
z PJカメラスタンドは、必ずACアダプターを接続してご使用ください。
PJカメラスタンドからPJカメラを取り外すには
PJカメラの電源を切った状態で、[CAMERA RELEASE]スライダーをスライドさせ、PJカメラを引き
抜きます。
z 取り外すときは、カメラが落下しな
いように注意してください。
z カメラを取り外して操作する時は、
落下を防止するため、必ずストラッ
プに指を通した状態で使用してく
ださい。
1
2










