Assembly Drawing & Parts User Manual
Manuals
Brands
Castle Manuals
Equipment
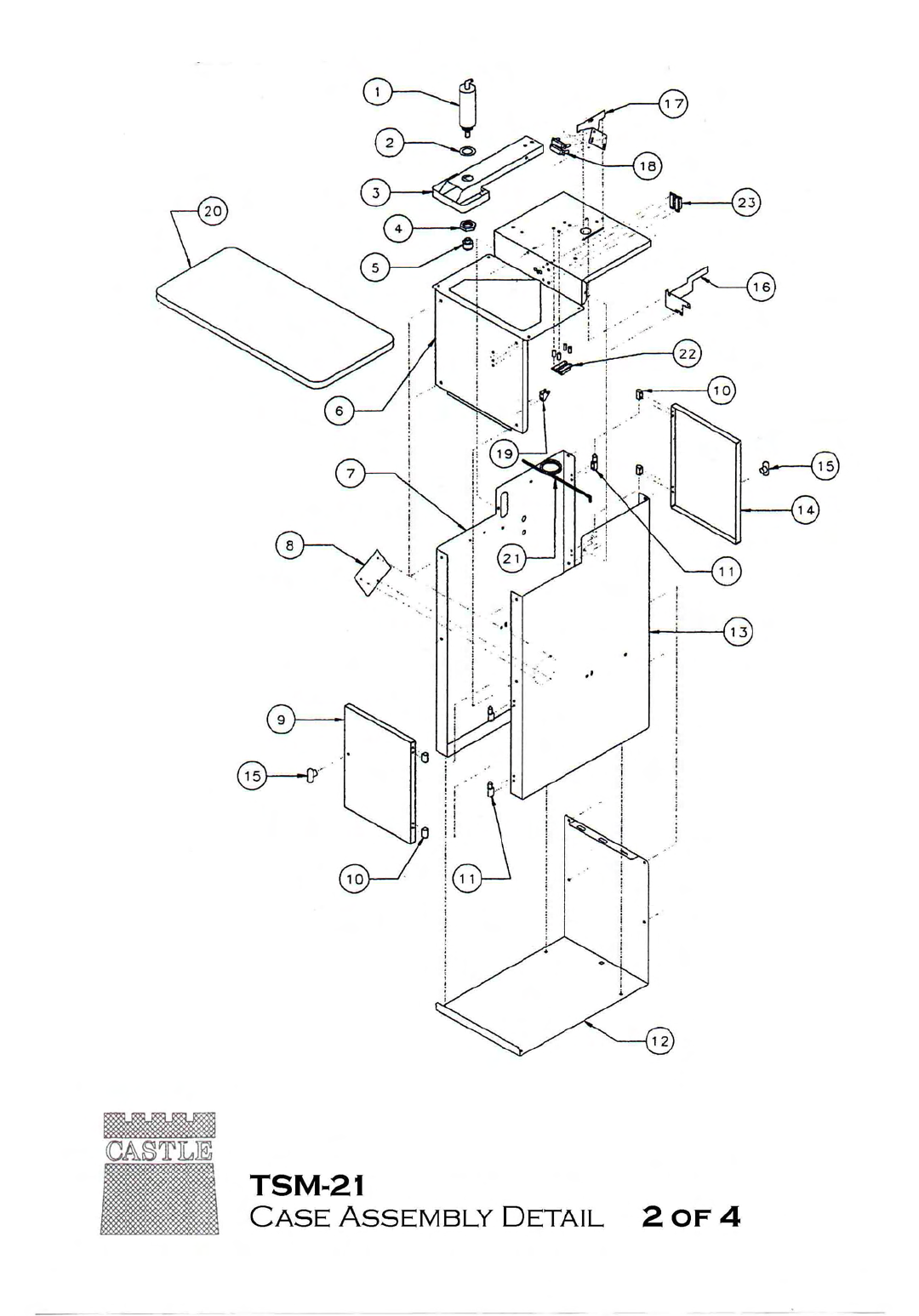
TSM-21 Serial 61076 to 62480
1
2
3
4
5
6
7
8
9
1
2
3
4
5
...
...
9