User manual

40
7.3 Control Digital Video Comprehensive Platform Host
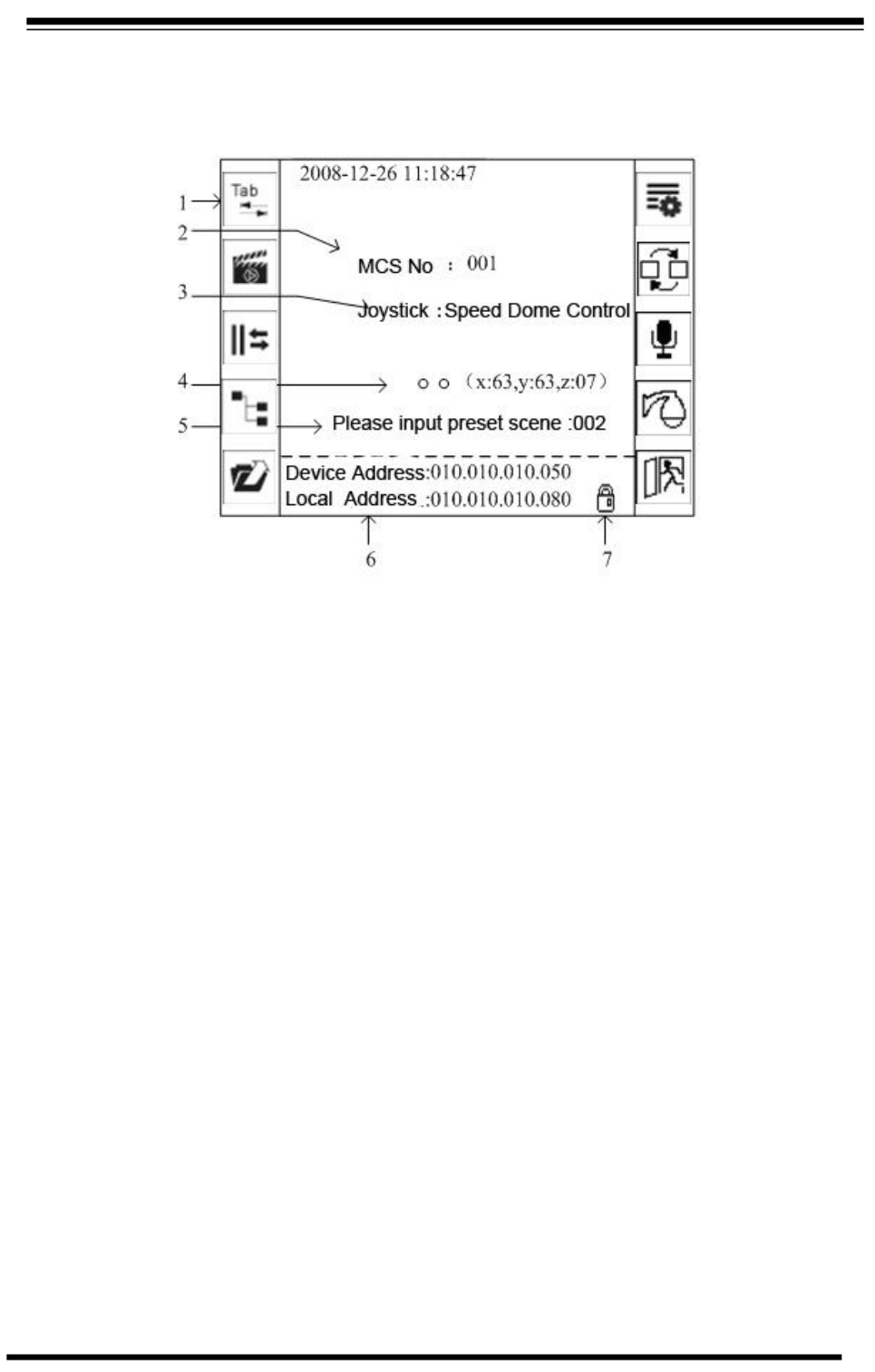
【Picture 7-7 Digital Video Comprehensive Platform Host Control Interface】
7.3.1 Interface Instruction
1、 Function key, please refer to keys instruction.
2、 The current control Digital Video Comprehensive Platform Host address, press【SITE】
to amend address, the scope is 1-99.
3、 It‟s the status of joystick control, press 【MODE】to switch the control type. In P/T
control status, the joystick can control P/T; In software control status, the joystick can
control the software menu.
4、 Joystick Status Display: X/Y/Z can display joystick right and left, up and down and
also rotation movement. Right and left movement scope is 0-63, rotation scope is 0-7.
5、 Tips Information Display: operation tips and abnormal status display area.
6、 Other Control Parameter Display, including keyboard IP address and Network Video
Server Management Host IP address.
7、 Keyboard Lock Status Marks
7.3.2 Keys Instruction
F1: Correspondent with TAB on PC keyboard
F2: Enter record playback interface
F3: Switch to list of camera site host
F4: Camera site list open and close
F5: Exist and back to previous menu
F6: Video parameter adjustment
F7: Channels switch. Auto switch, group switch, signal Win switch and all
Win switch are optional.










