Operation Manual

20 I
kalibrierung/DEK-Schalter - Konus ausgeführt wird.
• DEK-Index – Hierbei handelt es sich um den Deklination-
sindex-Fehlerwert, der gespeichert wird, wenn Kalibrier-
ungssterne nach der anfänglichen Sternenausrichtung
hinzugefügt werden.
• RA-Index – Hierbei handelt es sich um den RA-Index-
Fehlerwert, der eingestellt wird, wenn Utility/Montierungs-
kalibrierung/RA-Schalter ausgeführt wird.
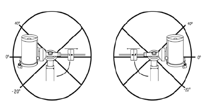
RA-Grenzwerte –
Hier werden die Grenzwerte eingestellt,
die das Teleskop beim Schwenk oder der Nachführung in Rek-
taszension (RA) bis zum Stopp erreichen kann. Die Schwenk-
grenzen werden in Grad angegeben und sind standardmäßig
auf 0° eingestellt, was die Teleskopposition darstellt, wenn
die Gegengewichtsstange horizontal ausgezogen ist. Die
Schwenkgrenzen können jedoch je nach Ihren Anforderungen
angepasst werden. Wenn Sie zum Beispiel eine Ausrüstung
für die CCD-Fotografie benutzen, deren Kabel nicht lang
genug sind, um die Schwenkbewegung des Teleskops über
den Himmel zu ermöglichen, können die Schwenkgrenzen auf
der Montierungsseite, die durch die Kabellänge eingeschränkt
ist, angepasst werden, damit das Teleskop die Schwenkbewe-
gung stoppt, bevor dieser Punkt erreicht wird. Oder wenn Sie
ein Objekt fotografieren, das gerade den Meridian überschrit-
ten hat, können Sie die Grenzwerte so einstellen, dass der
Montierung erlaubt wird, weiter in diese Richtung über den
Meridian hinaus nachzuführen, ohne das Teleskop auf die
andere Seite der Montierung zu „kippen“ (siehe obenstehende
Meridianfunktion). Bezüglich des obigen ersten Beispiels
könnte der Benutzer das Teleskop in die RA (Azimut) schwen-
ken, bis es den Punkt erreicht, an dem die Kabel ihre maximale
Reichweite erlangt haben. Wenn das Teleskop nun den Azimut
in dieser Position anzeigt (wenn Sie unter dem Utility-Menü die
Achsenposition ablesen), können Sie den Azimut des Teles-
kops als Maximalposition festlegen. Geben Sie diese Azimut-
werte als Maximal- und Minimal-Azimut-Schwenkgrenzen ein,
um sicherzustellen, dass das Teleskop nicht über diesen Punkt
hinaus schwenkt. Die Teleskop-Schwenkgrenzen können so
eingestellt werden, dass an einem beliebigen Punkt zwischen
40 ° über dem Niveau und 20 ° unter dem Niveau automatisch
gestoppt wird. Zum Einstellen der RA-Schwenkgrenzen stehen
folgende Wahlmöglichkeiten zur Verfügung:
• RA-Ostgrenzwert – Geben Sie eine Zahl zwischen +40°
und -20° ein, um die Schwenkgrenze festzulegen, wenn
sich der Tubus auf der östlichen Seite der Montierung
befindet.
• RA-Westgrenzwert – Geben Sie eine Zahl zwischen
+40° und -20° ein, um die Schwenkgrenze festzulegen,
wenn sich der Tubus auf der westlichen Seite der Montier-
ung befindet.
• Grenzwerte deaktiviert – Hiermit werden alle vordefini-
erten Werte, die eingegeben wurden, deaktiviert, wodurch
die Montierung die maximale Strecke über den Meridian
hinaus (d. h. -20° auf beiden Seiten) nachführen kann.
Warnung: Damit das Teleskop von einer Richtung auf einen
Stern zuschwenken kann, die das Ausmaß des Getriebe-
spiels minimiert, könnte es nötig sein, dass das Teleskop
über den spezifizierten Grenzwert in der Schwenkbewegung
hinausgeht, damit es sich dem Stern aus der korrekten
Richtung annähern kann. Dadurch sind Ihre Möglichkeiten,
weiter als 6° über dem in der Handsteuerung eingestellten
RA-Schwenkgrenzwert auf ein Objekt zu schenken, begrenzt.
Wenn dies ein Problem darstellt, kann die Richtung, in der
das Teleskop ein Objekt zentriert, geändert werden. Zum
Ändern der Schwenkrichtung des Teleskops, siehe GoTo-
Automatik im Teleskopsetupmenü.
Benutzerdefinierte Rate 9 – Hiermit können Sie die
Schwenkrate des Teleskops auf ein Ziel hin anpassen. Sie
können die RA- und DEK-Achsen separat einstellen.
Utility-Menü
Wenn Sie durch die Optionen des MENÜS (9) scrollen,
erhalten Sie auch Zugriff auf verschiedene, fortgeschrittene
Utilityfunktionen des Teleskops, wie z. B. Montierung kalibri-
eren, Ruheposition und Vieles mehr.
Montierung kalibrieren – Um die Leistung und Zeige-
genauigkeit des Teleskops zu optimieren, verfügt die Montier-
ung über integrierte Kalibrierungsroutinen zur Kompensation
mechanischer Vibrationen der Deutschen Montierung. Jede
Kalibrierung wird vollautomatisch durchgeführt und muss
in den meisten Fällen nur einmal ausgeführt werden. Wir
empfehlen dringend, sich ein paar Minuten Zeit zu nehmen,
die Kalibrierungsverfahren durchzulesen.
• RA-Schalter – Mittels dieses Verfahrend wird der Offset-
fehler aufgezeichnet, wenn die Rektaszensions-Indexmarki-
erung beim Hochfahren ausgerichtet wird. Die Kalibrierung
des RA-Indexes erhöht die Genauigkeit Ihrer anfänglichen
Sternausrichtung für spätere Teleskopausrichtungen.
• GoTo-Kalibrierung – Die GoTo-Kalibrierung ist ein
nützliches Werkzeug, wenn schweres optisches oder
Fotograezubehör am Teleskop angebracht wird. Die
GoTo-Kalibrierung berechnet die Distanz und Zeit, die von
der Montierung benötigt wird, um den letzten, langsamen
GoTo-Abschnitt zu beenden, wenn auf ein Objekt zug-
eschwenkt wird. Eine Änderung an der Teleskopbalance
kann die Zeit verlängern, die für den letzten Schwenk
benötigt wird. Die GoTo-Kalibrierung berücksichtigt klein-
ste Ungleichgewichte und Änderungen der letzten GoTo-
Distanz und kompensiert diese.
Startposition – Bei der „Startposition“ des Teleskops
handelt es sich um eine vom Benutzer definierbare Position,
die bei der Lagerung des Teleskops verwendet wird, wenn
dieses nicht in Gebrauch ist. Die Startposition ist nützlich,
wenn das Teleskop als ständige Sternwarte gelagert wird.
Standardmäßig ist die Startposition mit der Indexposition für
die Ausrichtung der Montierung identisch.
Zum Einstellen der Startposition Ihrer Montierung verwenden
Sie einfach die Pfeiltasten auf der Handsteuerung, um die
Teleskopmontierung in die gewünschte Position zu bewegen.
Wählen Sie die Option Einstellen aus und drücken Sie auf
Enter.
Wählen Sie die Option GoTo aus, um das Teleskop zu einem
beliebigen Zeitpunkt zurück in die Startposition zu bewegen.
Werkseinstellungen – Setzt die Handsteuerung auf die
ursprünglichen Werkseinstellungen zurück. Werte wie die
Getriebespielkompensation, anfängliche Daten zu Datum
und Uhrzeit, Längen-/Breitengrade sowie Schwenk- und
Filtergrenzen werden rückgesetzt. Gespeicherte Werte,
wie z. B. benutzerdefinierte Objekte, bleiben jedoch auch
Osten Westen