User`s manual
Table Of Contents
- 535 User's Manual
- Table of Contents
- Chapter 1: Introduction
- Chapter 2: Basic Interface
- Chapter 3: Installation
- Chapter 4: Hardware Set Up
- Chapter 5: Software Configuration
- Chapter 6: Tuning
- Chapter 7: Applications
- Control Type
- Alarms
- Duplex Control
- Slidewire Position Proportioning Control
- Velocity Position Proportioning Control
- Staged Outputs
- Retransmission
- Digital Inputs
- Remote Setpoint
- Multiple Setpoints
- Multiple Sets of PID Values
- POWERBACK
- Self Tune–POWERTUNE®
- Ramp-To-Setpoint
- Input Linearization
- Load Line
- Security
- Reset Inhibition
- Process Variable Reading Correction
- Serial Communications
- Cascade Control
- Ratio Control
- Appendix 1: Menu Flowcharts
- Appendix 2: Parts List
- Appendix 3: Troubleshooting
- Appendix 4: Calibration
- Appendix 5: Specifications
- Appendix 6: Glossary
- Appendix 7: Isolation Block Diagram
- Return Procedures and Warranty Information
- 500 Series Process Controllers User's Manual

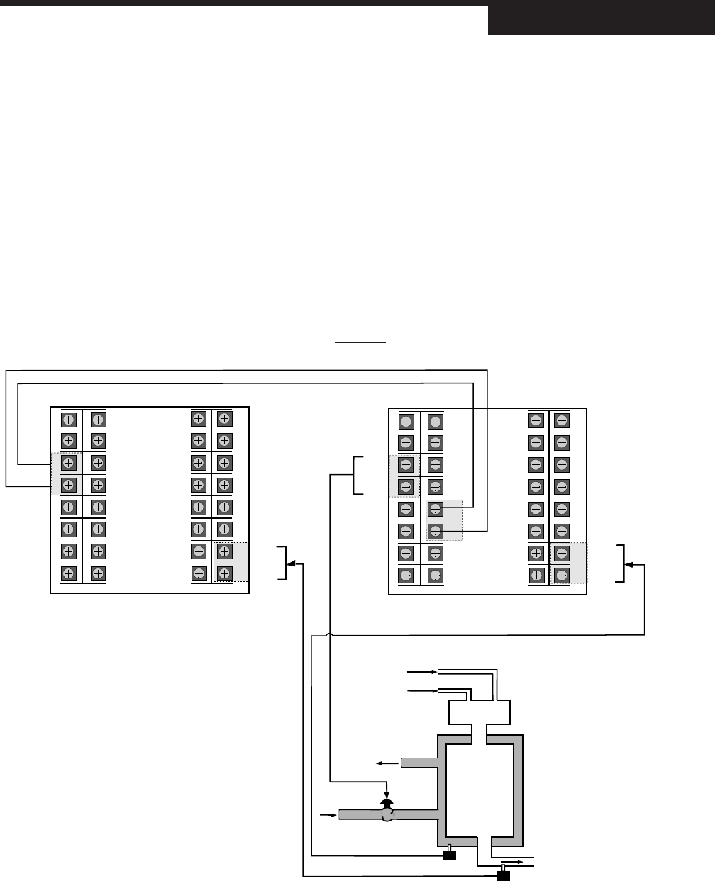
535 User's Manual Chapter 7 101
Applications
Why? In this example, with PID control, the average temperature of the liquid
in the heat exchanger is 80°, but can vary by as much as five degrees because
the steam supply itself is not constant. Fluctuations in the pressure of the steam
supply cause fluctuations in the temperature of the steam within the heat
exchanger. So, the process liquid’s temperature begins to rise, but it takes
several minutes for the increased heat from the steam to travel through the
process liquid to reach the temperature sensor. By the time the sensor registers
the higher value and calls for a decrease in steam, the process liquid near the
walls is already at an even higher temperature. Although the steam supply is
reduced, the process liquid’s temperature continues to rise for a period of time.
This delay in the transfer of heat prevents the 535 controller from controlling
the temperature more precisely.
The solution to the problem is illustrated in Figure 7.20. Have the PID controller
position the steam valve, but add a sensor by means of another 535 controller
that will monitor the steam pressure. The pressure control system now creates
a second feedback control loop, which “cascades” from the first.
Hardware Configuration
• Configure Unit 1 for a 4-20mA output (analog module for control).
Figure 7.20
Cascade Control of Product
Temperature
1
2
3
4
5
6
7
816
15
14
13
12
11
10
9
17
18
19
20
21
22
23
24
32
31
30
29
28
27
26
25
PV 1+
PV 1–
OUT 1–
OUT 1+
UNIT 1
1
2
3
4
5
6
7
816
15
14
13
12
11
10
9
17
18
19
20
21
22
23
24
32
31
30
29
28
27
26
25
PV 1+
PV 1–
RTD 3RD
OUT 1–
OUT 1+
raw
materials
MIXER
temperature sensor
pressure sensor
steam
HEAT
EXCHANGER
RSP+
RSP–
UNIT 2










