User`s manual
Table Of Contents
- 535 User's Manual
- Table of Contents
- Chapter 1: Introduction
- Chapter 2: Basic Interface
- Chapter 3: Installation
- Chapter 4: Hardware Set Up
- Chapter 5: Software Configuration
- Chapter 6: Tuning
- Chapter 7: Applications
- Control Type
- Alarms
- Duplex Control
- Slidewire Position Proportioning Control
- Velocity Position Proportioning Control
- Staged Outputs
- Retransmission
- Digital Inputs
- Remote Setpoint
- Multiple Setpoints
- Multiple Sets of PID Values
- POWERBACK
- Self Tune–POWERTUNE®
- Ramp-To-Setpoint
- Input Linearization
- Load Line
- Security
- Reset Inhibition
- Process Variable Reading Correction
- Serial Communications
- Cascade Control
- Ratio Control
- Appendix 1: Menu Flowcharts
- Appendix 2: Parts List
- Appendix 3: Troubleshooting
- Appendix 4: Calibration
- Appendix 5: Specifications
- Appendix 6: Glossary
- Appendix 7: Isolation Block Diagram
- Return Procedures and Warranty Information
- 500 Series Process Controllers User's Manual

535 User's Manual Appendix 4 A-11
Calibration
3. On the Microcontroller Circuit Board locate jumper locations marked PV1 and
2nd near the edge connector. Reposition both jumper connectors in the 2nd
location onto pins for V and TC▲, as shown in Figure A4.3.
4. Reinsert chassis into the case and apply power.
5. Allow controller to warm up for at least 30 minutes.
The 2nd and 3rd displays should read CALIBRATE ANALOG. IN.
(CALIBRATE Menu, ANALOG. IN section).
Press MENU three times to reach the CALIBRATE ANLG. OUT Menu.
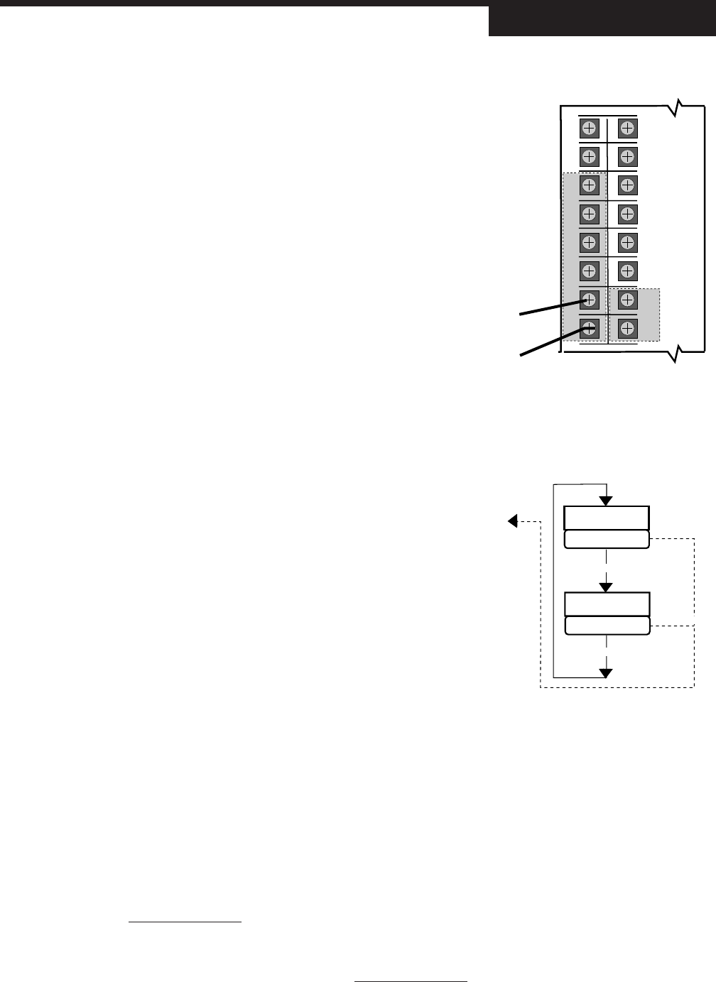
6. Connect hook up wires to the terminals for the corresponding milliamp output
modules.
Output 1 uses terminals 3 and 4.
Output 2 uses terminals 5 and 6
Output 3 uses terminals 7 and 8 (shown in Figure A4.8)
Output 4 uses terminals 15 and 16.
Attach the test leads from the multimeter to the wires, and then plug the test
leads into the meter. Set the meter for DC milliamp.
7. Press ACK. The 2nd display will read OUTPUT1, OUTPUT2, OUTPUT3 or
OUTPUT4 (depending on the module installation).
8. Press MENU to scroll to the output to be calibrated (see Figure A4.9). The 3rd
display should read 4 mA.
The multimeter should read a value close to 4.00.
9. Wait one minute. Use
▲▲
▲▲
▲ and
▼ ▼
▼ ▼
▼ (and FAST) on the controller to change the
meter’s display to exactly 4.00 mA.
10. Press MENU. The 3rd display should read 20 mA.
11. Let this setting stabilize for 5 minutes. Use
▲▲
▲▲
▲ and
▼ ▼
▼ ▼
▼ (and FAST) on the con-
troller to change the meter’s display to exactly 20mA.
12. To calibrate another analog output:
Move the wires and test leads to the new output terminals.
Press MENU until the 3rd display shows 4mA for the corresponding output in
the 2nd display. Repeat step 9-11.
13. To complete calibration, press ACK key, disconnect the power and place the
jumper connectors back into their original position.
RESET MENU DATA
Resets all parameter values back to their factory default values (except for cali-
bration information). Refer to the flowchart in Figure A4.2.
1. Disconnect power to the instrument.
2. Remove chassis from case.
3. On the Microcontroller Circuit Board, set jumpers at the 2nd PV location to V
and TC
▲▲
▲▲
▲.
4. Press MENU key until the display shows RESET MENU DATA.
5. Press the ACK key.
6. Press MENU key within two seconds to reset the menu data.
If successful, RESET COMPLETED will appear in the display.
If failed, RESET SKIPPED will appear instead.
7. To try again, press ACK key, and then press MENU key within two seconds.
8. When complete, return jumpers to their original positions.
1
2
13
12
11
10
9
3
4
5
6
7
816
15
14
OUT 1–
OUT 1+
OUT 2–
OUT 2+
OUT 3–
OUT 3+
OUT 4–
OUT 4+
Connect to
multi-meter
+
–
Figure A4.8
Milliamp Output Calibration Wiring
PRESS MENU
PRESS ACK
4 mA
OUTPUT "X"
20 mA
OUTPUT "X"
TO OTHER
CALIBRATION
MENU
EACH OUTPUT WILL GO
THROUGH THIS CYCLE
PRESS MENU
PRESS ACK
Figure A4.9
Output Module Menu Cycle










