Specifications
Table Of Contents

IMI
66-097
Installation
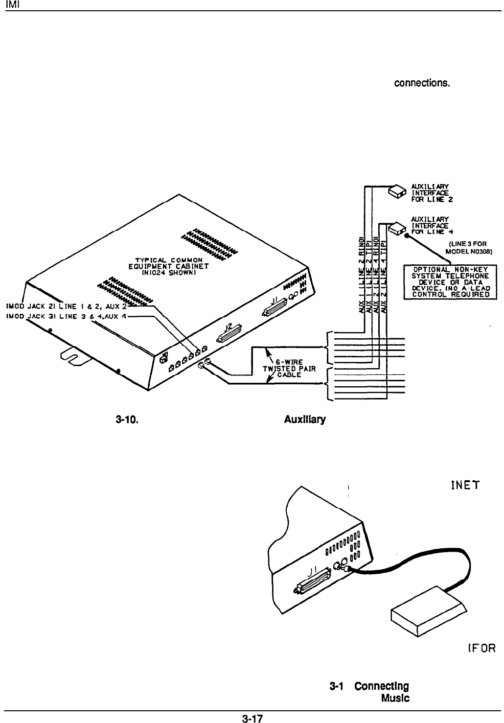
Connecting Equipment At The Auxiliary Equipment Interface
You can connect a non-key system telephony or data
device ahead of the common equipment if needed.
l
Connection is across tip and ring of lines 2 and 4
using the auxiliary interface
connections.
The system can detect an off-hook condition in the
connected device, and turn on the line status light at
the button system telephones to indicate that the line
is busy.
l
Auxiliary interface connections are provided at
terminals 1 and 6 of common equipment modular
jacks 2 and 3.
Figure
3-10.
Connecting Equipment At The
Auxlllary
Equlpment Interface
Connecting Equipment To The Music Interface
If the site requires that music be part of the system,
connect a music source to the common equipment
music interface jack (RCA-type phono jack) provided
for this purpose. The impedance of this input is
approximately 500 ohms. Level adjustment of the
music source may be necessary and it may be done
during system checkout.
TYPICAL COMMON
EQU IPMENT CAB
INET
(MODEL N 1024 SHOWN)
MUSIC SOURCE
IFOR
MUSIC ON HOLD AND
BACKGROUND MUSIC)
Flgure 3-l 1.
Connectlng
Equipment
To The
Musk
Interface
3-17










