Installation manual

VDN Aerial
The aerial is supplied with its bottom section fitted to the mounting bracket. The
top section is supplied seperately in the foam packing. Ensure that the aerial
top section is fitted to the mounting bracket during installation. Wrap
spare coax onto the supplied reel. Do not cut coax and rejoin.
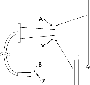
Fig 19
The Dualcom aerial, 8m coax lead and connector may be tested with a Resist-
ance Meter. Fig 19 shows the aerial with the top and bottom sections un-
screwed. The brass screw insert (A) for the top metal rod is marked TOP.
To test an aerial, unscrew the top and botton sections to allow access to the
brass screw inserts. With a restance meter ensure that:
1. The resistance from A to Z is less than one ohm.
2. The resistance from B to Y is less than one ohm.
3. The resistance from A to Y is greater than one million ohms.
35










