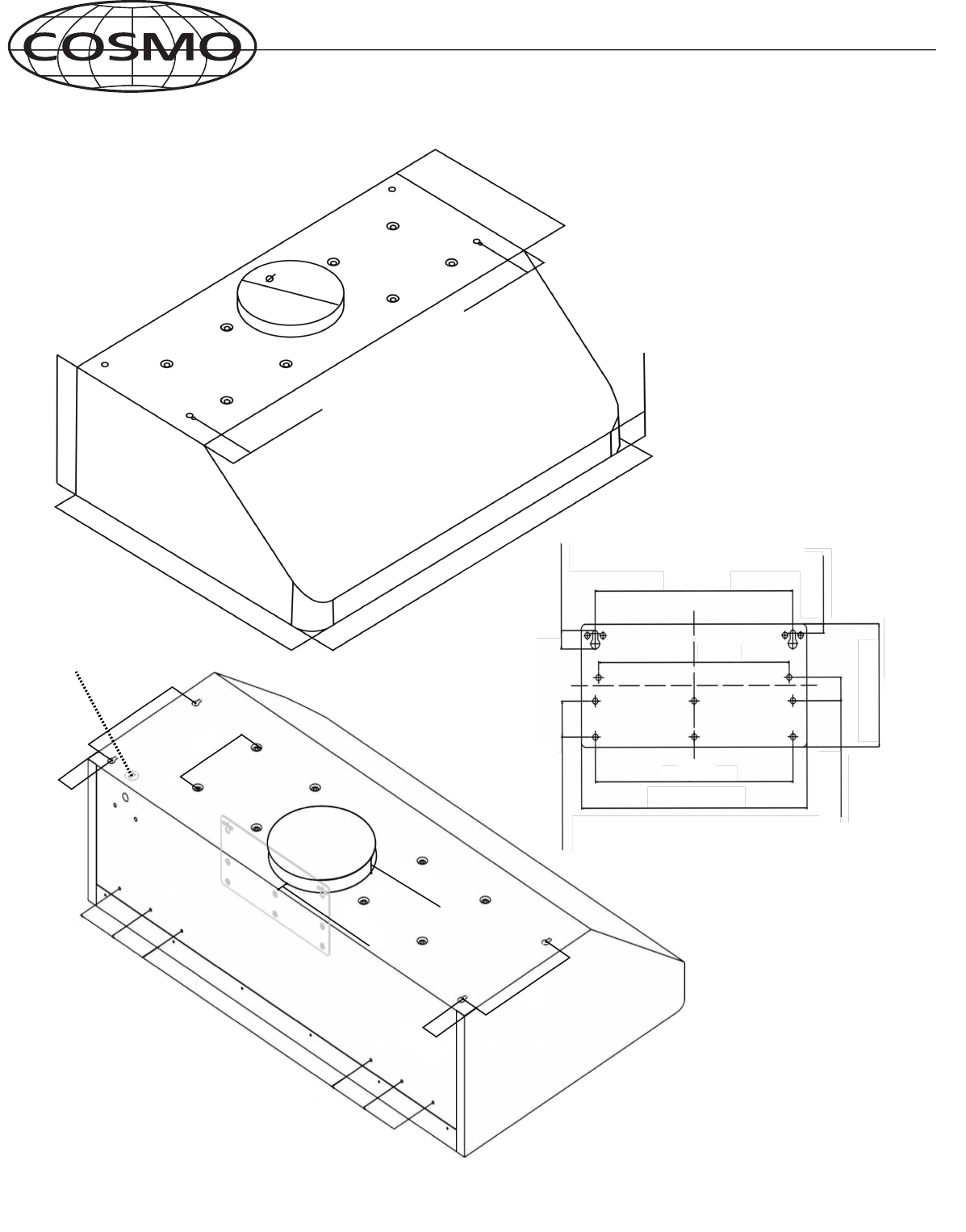
Dimension Drawing

COS-QB48
Assembled Product Dimensions
7-3/4"
12"
47-3/4"
10"
22"
2"
1-1/2"
1-1/2"
Hood-Mounting Bracket
10-1/4"
9"
7/8"
4-3/4"
3/8"
11/16"
9"
1-3/8"
8-5/8"
3"
3"
3"
3"
30"
5"
1-1/2"
1-1/2"
1-1/2"
8"
1-1/2"
8"
Location of
3-Prong Plug