Static RAM Specification Sheet

CY7C185
Document #: 38-05043 Rev. *A Page 10 of 11
© Cypress Semiconductor Corporation, 2002. The information contained herein is subject to change without notice. Cypress Semiconductor Corporation assumes no responsibility for the use
of any circuitry other than circuitry embodied in a Cypress Semiconductor product. Nor does it convey or imply any license under patent or other rights. Cypress Semiconductor does not authorize
its products for use as critical components in life-support systems where a malfunction or failure may reasonably be expected to result in significant injury to the user. The inclusion of Cypress
Semiconductor products in life-support systems application implies that the manufacturer assumes all risk of such use and in doing so indemnifies Cypress Semiconductor against all charges.
All product and company names mentioned in this document may be the trademarks of their respective holders.
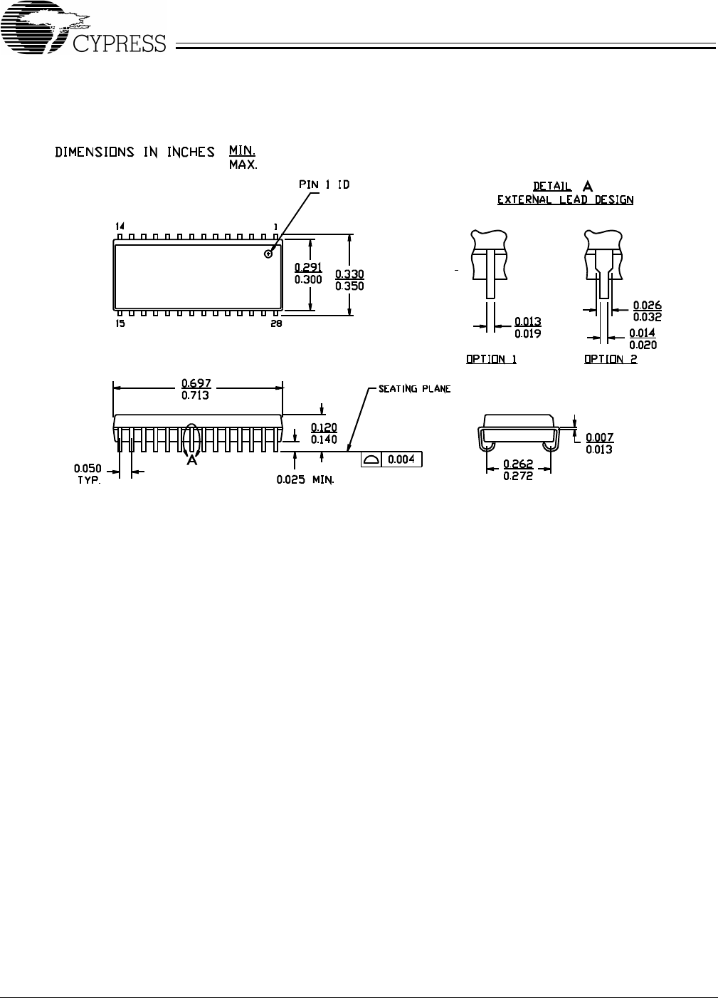
Package Diagrams (continued)
28-Lead (300-Mil) Molded SOJ V21
51-85031-*B










