Installation Guide

10
Installation Instructions
Electrical Connection - (continued)
Connecting to a Three Wire Electrical
System - Where Local Codes Permit
WARNING
Do not connect the green appliance conduit wire to the
neutral (white) junction box wire unless local building
codes permit.
1. Separate the wires coming out of the appliance conduit.
2. Connect the green and white wires from the appliance
conduit to the white (neutral) supply wire in the junction
box.
3. Connect the black wire from the appliance conduit to
the black (L1) supply wire in the junction box.
4. Connect the red wire from the appliance conduit to the
red (L2) supply wire in the junction box.
Connecting to a Three Wire Electrical
System with External Ground - Where Local
Codes Permit
WARNING
• Do not ground the appliance to a gas supply pipe or
hot water pipe.
• If connecting the ground wire to a grounded cold water
pipe, connect using a separate copper grounding
wire (No. 10 minimum) and a clamp with an external
grounding screw. The grounded cold water pipe must
have metal continuity to electrical ground and must not
be interrupted by insulating materials. Any insulating
materials must be jumped, with a minimum, 4 AWG
wire to establish continuity to ground. See facing page.
NOTE
If the junction box has been properly grounded by a
licensed electrician, the green (ground) wire from the
appliance conduit may be connected to the junction box
using a loop terminal.
To connect the green appliance conduit wire to a
grounded cold water pipe, see diagrams on facing
page.
1. Separate the wires coming out of the appliance conduit.
2. Connect the white wire from the appliance conduit to
the white (neutral) supply wire in the junction box.
3. Connect the black wire from the appliance conduit to
the black (L1) supply wire in the junction box.
4. Connect the red wire from the appliance conduit to the
red (L2) supply wire in the junction box.
5. Connect the green wire from the appliance conduit to a
grounded cold water pipe as shown. Jumper any insu-
lating materials as shown above with a length of No. 4
copper wire. Securely clamp the wire to bare metal at
both ends.
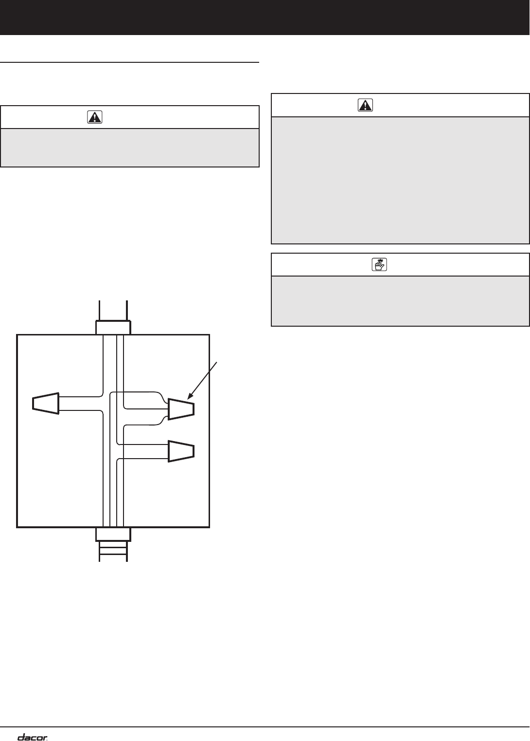
Incoming power
Wire nut,
3 places
Junction box
Conduit to
oven
Three Wire Connection
RED
RED
WHITE
WHITE
GREEN
BLACK
BLACK