Installation Guide

26
Instructions d’installation
Conduit à 3 conducteurs depuis le point
de distribution du domicile - où les codes
locaux le permettent
ADVERTISSEMENT
Ne pas brancher le fil vert de l’appareil au fil neutre (blanc)
de la boîter de jonction à moins que les codes locaux le per-
mettent.
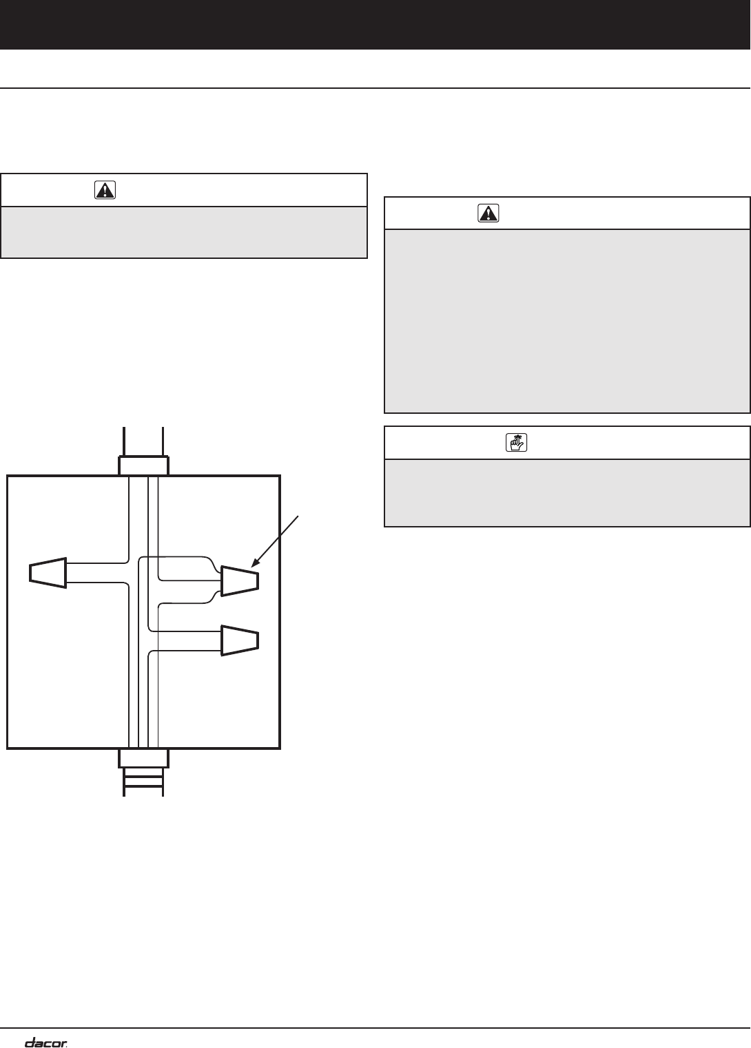
1. Séparer les fils qui sortent de la conduite de l’appareil.
2. Connecter les 2 conducteurs blancs (N) et le conducteur vert
(T) de liaison à la terre avec un connecteur de fils.
3. Connecter ensemble les 2 conducteurs noirs (L1) avec un
connecteur de fils.
4. Connecter ensemble les 2 conducteurs rouges (L2) avec un
connecteur de fils.
ROUGE
ROUGE
BLANC
BLANC
NOIR
NOIR
VERT
Conduit depuis le
point de distribution
du domicile
Connecteurs
de fils (3)
Boîtier de
jonction
Conduit flexible à 4
conducteurs depuis
le four
Connexion électrique - (suite)
Conduit à 3 conducteurs depuis le point de
distribution du domicile avec terre externe
- où les codes locaux le permettent (voir la
page opposée)
ADVERTISSEMENT
• Ne pas mettre à la terre l’appareil à un tuyau
d’alimentation en gaz ou à un tuyau d’eau chaude.
• Au raccordement du fil de mise à la terre à un tuyau
d’eau froide mis à la terre, raccorder à l’aide d’un fil de
mise à la terre séparé en cuivre (no 10 minimum) et une
bride avec une vis de mise à la terre externe. Le tuyau
d’eau froide mis à la terre doit avoir de la continuité de
métal pour la mise électrique à la terre et ne doit pas être
interrompu par des matériaux isolants. Tous les matériaux
isolants doivent être sautés, avec un fil de 4 AWG mini-
mum pour établir la continuité à la mise à la terre.
REMARQUE
Si la boîtier de jonction a été correctement mise à la terre par
un électricien agrée, le fil vert (mise à la terre) de la conduite
de l’appareil peut être raccordé à la
boîtier de connexion à
l’aide d’une borne en boucle.
1. Séparer les fils qui sortent de la conduite de l’appareil.
2. Connecter ensemble les 2 conducteurs blancs (N) avec un
connecteur de fils.
3. Connecter ensemble les 2 conducteurs noirs (L1) avec un
connecteur de fils.
4. Connecter ensemble les 2 conducteurs rouges (L2) avec un
connecteur de fils.
5. Brancher le fil vert de la conduite de l’appareil à un tuyau
d’eau froide mise à la terre tel qu’illustré. Sauter les matéri-
aux isolants tel qu’illustré ci-dessus à l’aide d’un fil en cuivre
no 4. Fixer solidement le fil à du métal nu aux deux bouts.