User's Guide
Table Of Contents
- Using this Guide
- Procedures
- Warnings
- Cautions
- Notes
- For More Information
- Safety Information
- System Warnings
- Section 1: AlarmView™ System Overview
- Introduction
- AlarmView™ Transmitter
- AlarmView™ Pager
- AlarmView™ Programmer
- Section 2: AlarmView™ Transmitter Overview
- Transmitter Product Description
- Top Panel
- Antenna Connector
- On/Off Button
- Front Panel
- AC Indicator
- Transmitting Indicator
- Communications Indicator
- Infrared Port
- Rear Panel
- Monitor Input Port
- Power Input Port
- Using the Transmitter
- Transmitter Placement
- Turning Transmitter On
- Turning Transmitter Off
- Operating Transmitter On Battery Power
- Testing System Setup
- Send Test Page
- Section 3: AlarmView™ Pager Overview
- Pager Product Description
- Alarm Pages
- Alarm Page Event Levels
- Alarm Page Format
- Alarm Page Types
- Alarm Pages
- System Error Pages
- Section 4: AlarmView™ Programmer Overview
- Programmer Product Description
- Using the Programmer
- Viewing and Editing Bed Numbers
- Viewing and Editing Pager Numbers
- Viewing and Changing Bed and Pager Assignments
- Viewing Current Transmitter Assignments
- Changing Transmitter Assignments
- Assigning All Pagers from the Transmitter
- Setting Reminder Page Delay
- Section 5: Maintenance, Service, and Support
- Cleaning Procedures
- Inspection and Testing
- Electromagnetic Interference (EMI)
- Appendix A: Basic Pager Functions
- Pager On/Off
- Power On
- Power Off
- Setting the Pager Functions
- Setting Tone
- Setting Time
- Setting Date
- Adjusting Screen Contrast
- Message Mode
- Viewing Messages
- Deleting Messages
- Deleting a Single Message
- Delete All Messages at Once
- Replacing Battery
- Removing and installing the battery
- Appendix B: Basic Programmer Functions
- Safety Information
- General Precautions
- Damage Requiring Service
- Servicing
- Heat
- Water and Moisture
- Accessibility
- Internal Battery
- Rechargeable Battery Pack
- Programmer Functions
- Programmer On/Off
- Turn on Backlight
- Adjusting Screen Contrast
- Setting Date/Time
- Batteries
- Recharging Main Programmer Battery
- Replacing Programmer Backup Battery

8 Part #880-0325-01 Rev. A
AlarmView™ System User’s Guide
programmer. All transmitters and pagers within one system
operate on the same radio frequency and the same baud rate.
u The AlarmView pager coverage is limited and designed to cover
a care unit only. Operating range from the AlarmView transmitter
to pager is approximately 150 feet with no intervening structures
(walls, columns, doors, floors, etc.). Coverage is not long range.
Exact coverage area will be determined during initial installation,
and you can re-examine the coverage area at any time by
performing a Transmitter Range Test (as indicated in the
Administrator’s Manual)
.
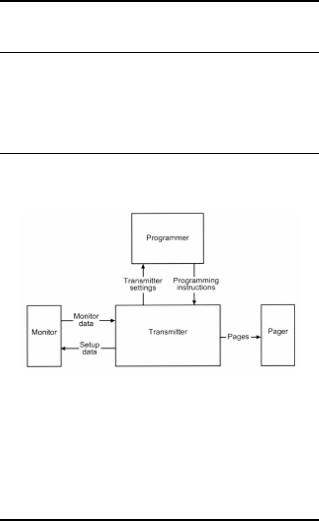
The system communicates as indicated in the diagram below:
AlarmView™ System Communication Flow Chart










