Instructions / Assembly

DOOR ASSEMBLY / MONTAJE DE LA PUERTA
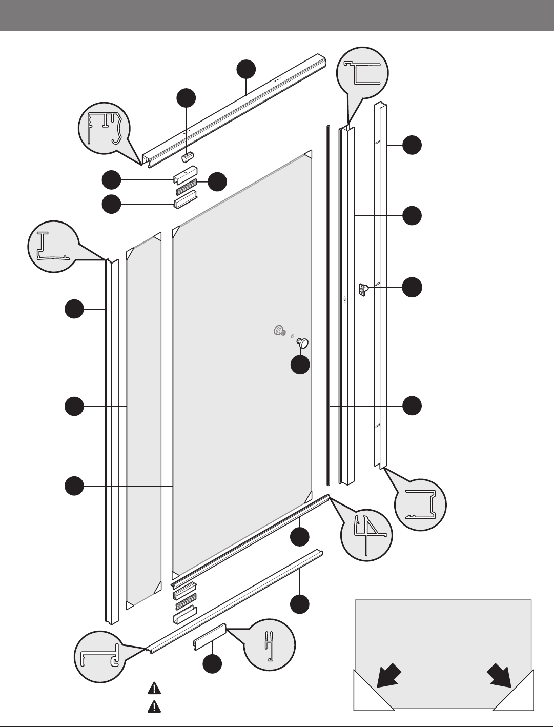
IMPORTANT: Keep corner protectors on
glass while installing.
IMPORTANTE: Mantenga los
protectores de esquinas en el vidrio
durante la instalación.
A
x2
x2
x2
x2
J
I
B
C
D
E
K
F
G
H
L
M
N
O
P
CAUTION:

PRECAUCIÓN:

