Installation Instructions

60119 Rev. D
3
1
A.
A.
A.
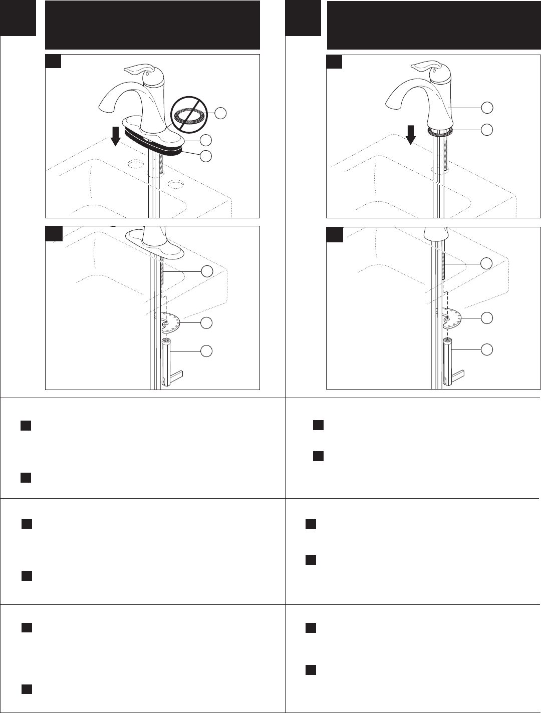
Slide escutcheon (1) and 3 hole gasket (2) up over tubes and
mounting stud. Rubber gasket (3) is not required for 3 hole
mounting. Slide tubes down through mounting hole and position
faucet, escutcheon and gasket on sink. Option: If sink is
uneven, use silicone under the gasket.
B.
Place metal bracket (4) over mounting stud (5) under sink.
Secure with mounting nut / wrench (6).
For three hole mount:
A.
Slide single hole gasket (1) up over tubes and mounting
stud. Position faucet (2) and gasket on sink. Option: If sink
is uneven, use silicone under the gasket.
B.
Place metal bracket (3) over mounting stud (4) under sink.
Secure with mounting nut / wrench (5).
For single hole mount:
For Three Hole Mount
Para Las Instalaciones De Tres Agujeros
Montage Sur Trois Trous
1
1
2
1
2
3
Para instalaciones de tres orificios:
A.
Glissez la plaque de finition (1) et le joint à trois trous (2) sur les
tubes et le goujon de montage. Le joint en caoutchouc (3) n’est
pas requis pour une installation dans trois trous. Par le haut,
introduisez les tubes dans le trou de montage et positionnez le
robinet, la plaque de finition et le joint sur l’évier. Facultatif : Si
l’évier est inégal, appliquez du composé d’étanchéité à la sili-
cone sous le joint.
B.
Placez le support en métal (4) sur le goujon de montage (5) sous
l’évier. Fixez-le en serrant l’écrou de montage avec la clé (6).
Installation dans trois trous :
Para instalación en un orificio:
A.
Par le dessous, glissez le joint à un trou (1) sur les tubes et
le goujon de montage. Positionnez le robinet (2) et le joint
sur l’évier. Facultatif : Si l’évier est inégal, appliquez du
composé d’étanchéité à la silicone sous le joint.
B.
Placez le support en métal (3) sur le goujon de montage (4)
sous l’évier. Fixez-le en serrant l’écrou de montage avec
la clé (5).
Montage dans un seul trou :
B.
4
6
5
4
5
B.
3
For Single Hole Mount
Para Las Instalaciones De Un Agujero
Montage sur un trou
A.
Deslice la chapa de cubierta (1) el empaque de 3 orificios (2) sobre
las tuberías y el perno de instalación. El empaque de goma (3) no
se requiere para una instalación de 3 orificios. Deslice las tuberías
hacia abajo por el agujero de la instalación y coloque la llave de
agua, la chapa y el empaque en el lavamanos. Opción: Si el lava-
manos está desnivelado, use silicón por debajo del empaque.
B.
Coloque el soporte de metal (4) sobre el perno de instalación (5)
por debajo del lavamanos. Fije con la tuerca de instalación / la llave
de tuercas (6).
A.
Deslice el empaque de un orificio (1) sobre las tuberías y el
perno de instalación. Coloque la llave de agua (2) y el
empaque en el lavamanos. Opción: Si el lavamanos está
desnivelado, use silicón por debajo del empaque.
B.
Coloque el soporte de metal (3) sobre el perno de instalación (4)
por debajo del lavamanos. Fije con la tuerca de instalación / llave
de tuercas (5).