Installation Guide

72543 Rev. B
3
1
A.
A.
A.
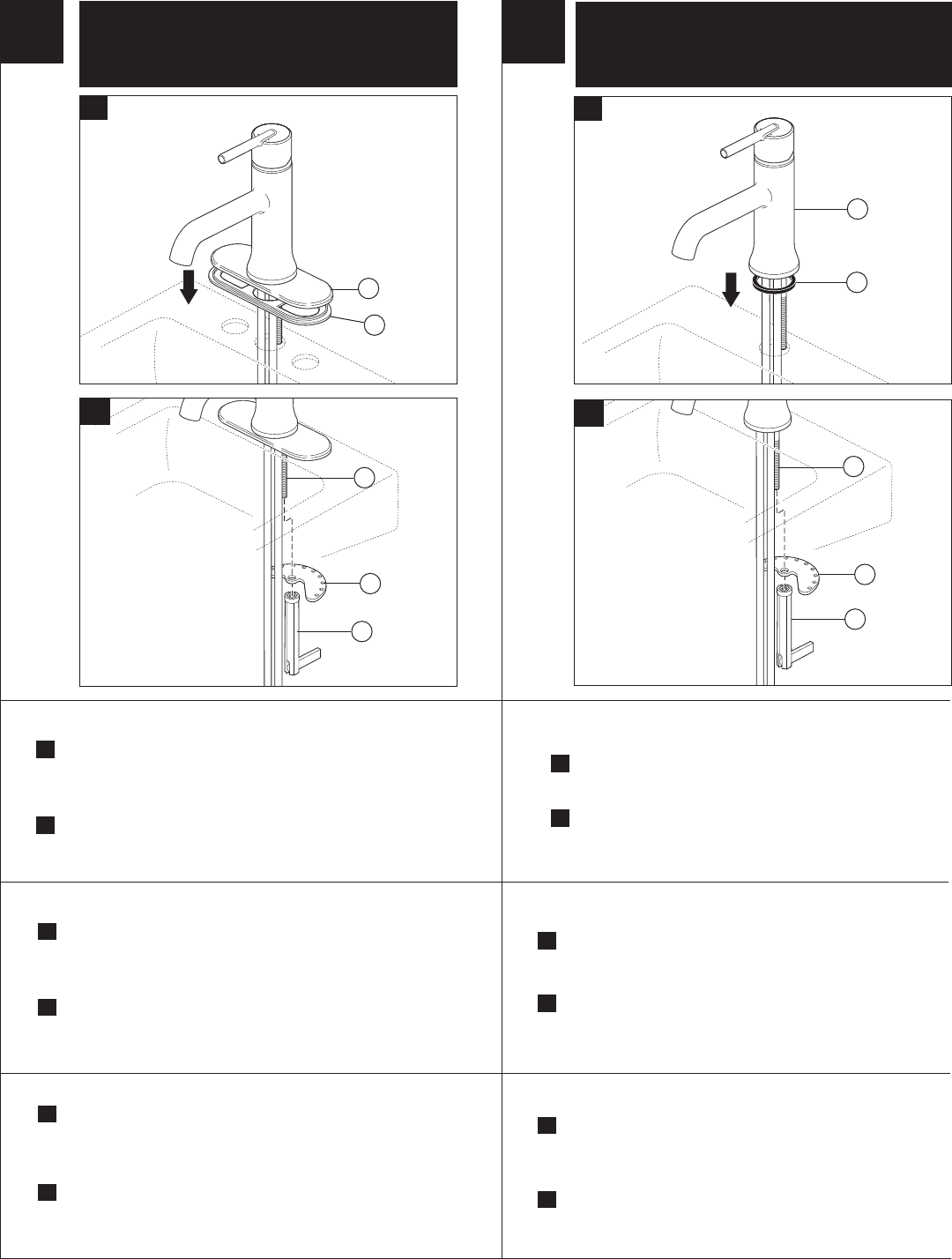
Slideescutcheon(1)and3holegasket(2)upovertubesand
mounting stud. Slide tubes down through mounting hole and
position faucet, escutcheon and gasket on sink. Option: If sink
is uneven, use silicone under the gasket.
B.
Placemetalbracket(3)overmountingstud(4)undersink.
Securewithmountingnut/wrench(5).
For three hole mount:
A.
Slidesingleholegasket(1)upovertubesandmounting
stud.Positionfaucet(2)andgasketonsink.Option: If sink
is uneven, use silicone under the gasket.
B.
Placemetalbracket(3)overmountingstud(4)undersink.
Securewithmountingnut/wrench(5).
For single hole mount:
For Three Hole Mount
Para Las Instalaciones De Tres Agujeros
Montage Sur Trois Trous
1
1
2
1
2
3
Para instalaciones de tres orificios:
A.
Glissezlaplaquedefinition(1)etlejointàtroistrous(2)surles
tubes et le goujon de montage. Par le haut, introduisez les tubes
dans le trou de montage et positionnez le robinet, la plaque de
finition et le joint sur l’évier. Facultatif : Si l’évier est inégal,
appliquezducomposéd’étanchéitéàlasiliconesouslejoint.
B.
Placezlesupportenmétal(3)surlegoujondemontage(4)sous
l’évier.Fixez-leenserrantl’écroudemontageaveclaclé(5).
Installation dans trois trous :
Para instalación en un orificio:
A.
Parledessous,glissezlejointàuntrou(1)surlestubesetle
goujondemontage.Positionnezlerobinet(2)etlejointsur
l’évier. Facultatif : Si l’évier est inégal, appliquez du
composé d’étanchéité à la silicone sous le joint.
B.
Placezlesupportenmétal(3)surlegoujondemontage(4)
sousl’évier.Fixez-leenserrantl’écroudemontageavec
laclé(5).
Montage dans un seul trou :
B.
3
5
4
4
5
B.
For Single Hole Mount
Para Las Instalaciones De Un Agujero
Montage sur un trou
A.
Deslicelachapadecubierta(1)elempaquede3orificios(2)sobre
las tuberías y el perno de instalación. Deslice las tuberías hacia
abajo por el agujero de la instalación y coloque la llave de agua, la
chapa y el empaque en el lavamanos. Opción: Si el lavamanos
está desnivelado, use silicón por debajo del empaque.
B.
Coloqueelsoportedemetal(3)sobreelpernodeinstalación(4)
por debajo del lavamanos. Fije con la tuerca de instalación / la llave
detuercas(5).
A.
Desliceelempaquedeunorificio(1)sobrelastuberíasyel
pernodeinstalación.Coloquelallavedeagua(2)yel
empaque en el lavamanos. Opción: Si el lavamanos está
desnivelado, use silicón por debajo del empaque.
B.
Coloqueelsoportedemetal(3)sobreelpernodeinstalación(4)
por debajo del lavamanos. Fije con la tuerca de instalación / llave
detuercas(5).