User guide
Manuals
Brands
Despatch Manuals
Control panel
MIC1462 Controller Manual
11
12
13
14
15
16
17
18
19
20
11
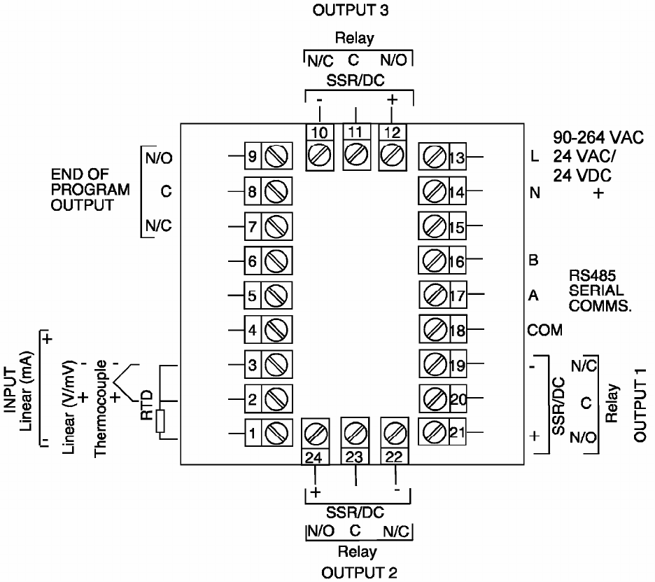
FIGURE 2-6
Rear Te
rminal Conn
ections
1
...
...
13
14
15
16
17
...
...
112