User Manual
Manuals
Brands
Digilent Manuals
Development Boards & Kits
ZedBoard Advanced Image Processing Kit with Dual Pcam
21
22
23
24
25
26
27
28
29
30
1-Aug-2012
25
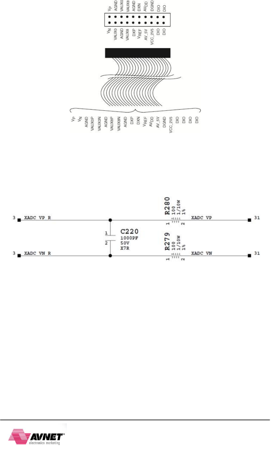
Figure
13
- Analog Header Pin out
The following anti
-aliasing filters
were used for the XA
DC inputs:
-
V
P
/V
N
-
V
AUX0P
/V
AUX0N
-
V
AUX8P
/V
AUX8N
Figure
14
- Anti-
A
liasing
Filters for XADC Inputs
1
...
...
24
25
26
27
28
...
...
38